阴极材料及结构对电化学法水处理性能的影响 
					
										
							Effect of cathode material and structure on electrochemical water treatment performance 
						
																Received: 2019-04-24
| Fund supported: |  | 
				 
				
									 针对工业循环冷却水的结垢问题,实验研究了不同阴极(钛板、铜板和钛网)对电化学处理后水样的总溶解性固体和电导率的影响,得出阴极材料及结构对电化学法水处理性能的影响规律。结果表明,阴极为钛板时,最佳电解电压为25 V;阴极为铜板时,水中成垢离子的去除率与电解电压呈正比;阴极为钛网时,电解电压对电化学法水处理性能影响较小;钛板作阴极时的处理性能优于铜板;阴极为钛板时的处理性能优于钛网。
										关键词:
																																	 
																											
								 In order to solve the fouling problem of industrial circulating cooling water, the effects of different cathodes (titanium plate, copper plate and titanium mesh) on the total dissolved solids and conductivity of the water samples after electrochemical treatment were studied experimentally. The influence of cathode materials and structures on the electrochemical treatment performance was obtained. The results showed that when the cathode was a titanium plate, the best electrolytic voltage was 25 V. When the cathode was a copper plate, the removal rate of scale-forming ions in the water was proportional to the electrolysis voltage. When the cathode was a titanium mesh, the electrolysis voltage had less effect on the electrochemical treatment of water. The treatment performance of titanium plate as cathode was better than that of copper plate as the cathode, the treatment performance of titanium plate as cathode was better than that of titanium mesh as the cathode.
																																												Keywords:
																				
																							
本文引用格式
							林纬, 袁蛟, 徐建民, 吴礼彬, 汪威, 郑小涛, 喻九阳. 
								Lin Wei. 
1 实验材料及方法
1.1 实验原理
1.2 实验系统
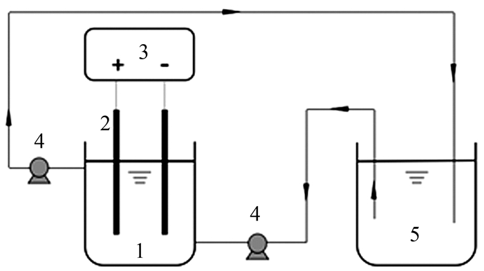
实验装置如图1所示,本实验装置包括除垢反应器、电极板、低压直流电源、蠕动泵、储水槽及连接管路部分,其中极板垂直于电解槽内,规格为100 mm×50 mm,间距为150 mm。
图1
1.3 实验材料及分析技术
实验用水样由无水CaCl2与NaHCO3按照1:2的物质的量比在蒸馏水中配制,硬度(以CaCO3计)为500 mg/L。利用TDS仪对水的总溶解性固体(TDS)及电导率(EC)进行测量,硬度测定以铬黑T作为指示剂,用乙二胺四乙酸(EDTA)标准溶液滴定。
2 实验结果与讨论
由于实验中所用水样均是以化学纯药品在蒸馏水中配制得到,在实验过程中不会有其他物质的干扰,而总溶解性固体和电导率与成垢性离子的去除率成反比,所以通过实时检测总溶解性固体和电导率的变化情况可以表征本工艺的除垢效果〔9〕。
2.1 阴极为钛板
以钛板为阴极,通过改变电解电压的大小来研究电场强度对阴极为钛板时的电化学法水处理性能的影响。经电化学法处理后水样总溶解性固体和电导率的变化,如图2所示。
图2
随着电解时间的增加,水样的总溶解性固体和电导率呈下降趋势,且下降速率逐渐减小,根据下降速率可分为快速去除期、诱导期、稳定期,当实验时间超过20 h后,总溶解性固体和电导率趋于稳定,达到极限值。分析认为以下原因可解释这一现象,实验开始阶段,水中的成垢性离子Ca2+浓度较高,阴极附近的析垢反应速率较快,成垢性离子得到快速去除,总溶解性固体和电导率快速下降。随着析垢反应的进行,水中的Ca2+浓度降低,且阴极板上吸附了大量碳酸钙沉淀,降低了电极的导电性,使得溶液中的电解反应速率变慢,最终使得阴极附近的析垢反应速率变慢,溶液中成垢性离子去除速率变慢。观察其变化趋势可知,当实验时间为0~5 h时,总溶解性固体和电导率下降明显,水中易结垢离子去除速率很快;当实验时间在5~20 h时,总溶解性固体和电导率的下降速率减缓;当实验时间超过20 h之后,总溶解性固体和电导率趋于稳定,与文献〔9〕所报道的实验时间对水中总溶解性固体和电导率的影响规律一致。
当电解电压为10~25 V时,总溶解性固体和电导率的下降速率随电压的增大而增大,且极限值随电压的增大而减小。当电解电压超过25 V时,下降速率反而降低,且极限值增大,说明并非电压越高处理效果越好。其原因如下:当电压低于25 V时,随着电压增大,电场强度增大,促进了Ca2+向阴极附近的迁移富集,同时增大了水中的氧化还原反应速率,使得阴极区的碱性增大,最终促进了成垢离子在阴极表面的结垢析出,降低了总溶解性固体和电导率的极限值。但当电压过高时,会加剧阴极板附近的析氢反应,大量的气泡上浮造成水体发生剧烈扰动,从而阻碍水体中的Ca2+向阴极区域的迁移富集,最终使得Ca2+的去除速率降低,水中总溶解性固体和电导率的极限值增大。
2.2 阴极为铜板
以铜板为阴极,通过观察不同电压处理后水中的总溶解性固体和电导率的变化,研究电场强度对阴极为铜板时电化学法水处理性能的影响。经电化学法处理后水样总溶解性固体和电导率的变化,如图3所示。
图3
水中的总溶解性固体和电导率仍然呈现先快速下降,接着下降速率变缓,最后趋于稳定的变化趋势。随着电压的增加,总溶解性固体和电导率的下降速率增大,且极限值减小。说明在电解电压为10~28 V,阴极材料为铜板时,电压越大处理速率越快,处理效果越好。
2.3 阴极为钛网
以钛网为阴极,观察不同电压处理后水中的总溶解性固体和电导率的变化,如图4所示。
图4
水中的总溶解性固体和电导率的变化趋势仍然是先快速下降,接着下降速率减缓,最后趋于稳定。当阴极材料为钛网时,增大电压,水中总溶解性固体和电导率下降速率和极限值变化很小,即当阴极材料为钛网时,电解电压对水处理性能影响较小。
2.4 综合分析
观察电解电压为20 V时,阴极分别为钛板、铜板和钛网的电化学水处理装置处理后水中的总溶解性固体和电导率的变化,如图5所示。
图5
由图5可知,在相同电压条件下,阴极为钛板时,水中总溶解性固体和电导率的下降速率比阴极为铜板时更快,且极限值更低。说明阴极材料对电化学水处理性能有一定影响,且阴极为钛板时的处理性能优于阴极为铜板时的处理性能。阴极为钛板时,水中总溶解性固体和电导率的下降速率比阴极为钛网时更快且极限值更低,说明阴极结构对电化学水处理性能也有一定影响。
通过对所得实验数据进行处理分析,得出用3种不同阴极材料及结构进行水处理时,TDS去除速率、TDS去除率及去除单位硬度能耗的结果见表1。
表1 不同阴极材料及结构对水处理性能的影响
| 阴极材料 | 钛板 | 铜板 | 钛网 | 
| TDS去除速率(mg·L-1·h-1) | 73 | 67 | 67 | 
| TDS去除率/% | 44.5 | 38.3 | 39.9 | 
| 去除单位硬度的能耗/(kW·h·kg-1) | 1.73 | 2.07 | 1.91 | 
TDS去除速率表示单位时间内溶液中总溶解性固体的去除量,去除速率越快说明溶液中硬度值降低越快,处理性能越好。而TDS去除率则表示了溶液中总溶解性固体的去除程度,去除率越高说明溶液中硬度值去除越多,处理效果越好。
由表1可知,当阴极结构同为板状结构时,钛板作阴极时的TDS去除速率高于铜板作阴极时的值,TDS去除率同样高于铜板作阴极时的值,而去除单位硬度的能耗却低于铜板的值,即钛板作阴极相较于铜板作阴极时的处理效率更快、处理效果更好,同时消耗更少的电能。铜的导电性优于钛,所以在相同电压条件下,铜板作阴极时的电流值高于钛板作阴极时的电流值,因此在相同时间内铜板作阴极所消耗的电能高于钛板,而且钛板作阴极时的处理速率又高于铜板,因此钛板作阴极时去除单位硬度的能耗将明显低于铜板。综合分析阴极为钛板和铜板对处理速率、处理效果以及所消耗的电能的影响规律,认为钛板作阴极时的电化学水处理性能明显优于铜板。当阴极材料同为钛时,钛板作阴极时的TDS去除速率以及TDS去除率都略高于钛网,即钛板作阴极时的处理速率和处理效果均优于钛网,而钛板作阴极时去除单位硬度的能耗低于钛网,所以在处理性能和能耗方面,同为钛作阴极时,板状结构优于网状。
通过进行阴极分别为钛板、铜板和钛网的电化学法水处理实验,综合考虑处理速率、处理效果以及能耗等因素,得出电化学性能由高到低分别是:钛板>钛网>铜板。
3 结论
笔者通过研究不同阴极装置处理后水样的总溶解性固体和电导率变化,得出阴极材料及结构对电化学法水处理性能的影响规律。
(1)阴极为钛板时的最佳电解电压为25 V,阴极为铜板时水中成垢离子的去除率与电场强度呈正比,阴极为钛网时,电解电压对水处理性能影响较小。
(2)阴极材料对电化学水处理性能有一定影响,钛板作阴极时的处理性能优于铜板。
(3)阴极结构对电化学水处理性能有一定影响,阴极为钛板时的处理性能优于钛网。
								参考文献 
								
									
									
								
							
							Calcium carbonate hardness removal by a novel electrochemical seeds system
[J].
Development of the electrochemical scale removal technique for desalination applications
[J].
Electrochemical water softening:principle and application
[J].
低压静电用于循环冷却水阻垢的实验研究
[J].DOI:10.3969/j.issn.1009-0177.2007.06.008 [本文引用: 1]
低压电子水处理方法的阻垢特性
[J].DOI:10.3321/j.issn:0253-231X.2009.01.043 [本文引用: 1]
循环水垢的A电源电解法去除工艺
[J].DOI:10.3969/j.issn.1001-9677.2013.04.038 [本文引用: 1]
Microfluidic flow through polyaniline supported by lamellar-structured graphene for mass-transferenhanced electrocatalytic reduction of hexavalent chromium
[J].
Nanowire-modified three-dimensional electrode enabling low-voltage electroporation for water disinfection
[J].
A graphene-based electrochemical filter for water purification
[J].
电化学法处理污水厂反渗透装置浓水试验研究
[J].DOI:10.11894/1005-829x.2017.37(12).072 [本文引用: 1]
电化学氧化法在工业废水处理中的应用研究
[J].DOI:10.3969/j.issn.1008-4800.2017.26.226 [本文引用: 1]
工业循环冷却水电化学水处理器的设计与调试
[J].DOI:10.3969/j.issn.1006-0308.2017.01.018 [本文引用: 1]
/
| 〈 |  | 〉 | 
 
	

 
										 
										 
										 
										 
										
 津公网安备 12010602120337号
 津公网安备 12010602120337号