吸附废水中苯胺的废菌渣活性炭电化学再生 
					 
										毕俊乐 , 1 , 2 , 李红艳 , 1 , 2 , 张峰 1 , 2 , 李尚明 3 
													
										
													1.太原理工大学环境科学与工程学院, 山西 晋中 030600  
													2.山西省市政工程研究生教育创新中心, 山西 晋中 030600  
													3.太原理工大学材料科学与工程学院, 山西 太原 030024  
											 
									 
				
																
							Electrochemical regeneration of mushroom residue activated carbon adsorbed aniline in waste water 
						 
																BI Junle , 1 , 2 , LI Hongyan , 1 , 2 , ZHANG Feng 1 , 2 , LI Shangming 3 
															
													1.College of Environmental Science and Engineering, Taiyuan University of Technology, Jinzhong 030600, China  
													2.Innovation Center for Postgraduate Education in Municipal Engineering of Shanxi Province, Jinzhong 030600, China  
													3.College of Material Science and Engineering, Taiyuan University of Technology, Taiyuan 030024, China  
											 
									 
																																												
					
																																																																																																																																																			
																	收稿日期:  2022-03-11   
																																																																											
																																																																																																																																																																																																																																																																																																																																								
								
									 
										基金资助: 
									 
									
										山西省重点研发计划项目(社会发展领域) .  201803D31046 山西省科技成果转化引导专项项目 .  201904D131065 	
									 
								 
							
											 
					
																																																																																																																																																							
									 
				
				
									
																			
								摘要 
							
												
															
									以废菌渣(MR)为原料,经ZnCl2  活化后制得废菌渣活性炭(MRAC),采用电化学方法对吸附苯胺废水产生的饱和MRAC进行再生,考察电流、电解质NaCl浓度、电解时间和pH等因素对于再生效果的影响,并通过正交实验探究最佳的再生条件。结果表明,在pH为5、电流为300 mA、NaCl质量浓度为15 g/L、再生时间为1.5 h的条件下,MRAC再生率高达98.43%,且电化学再生的重复性较好,经6次循环后,再生效果稳定,再生率仍可达87.53%。对再生后和再生前吸附苯胺饱和的MRAC采用FT-IR、BET和SEM进行表征分析,结果表明,再生后的MRAC表面苯胺被脱附,羟基等官能团恢复,BET比表面积和孔容均增加,分别为再生前饱和MRAC的1.54倍和1.36倍,微孔孔径集中在0.4~0.5 nm之间,介孔孔径集中在4 nm处。电镜图像显示电化学再生过程对MRAC的表面结构没有明显损伤,且再生后的MRAC具有丰富的孔结构。 
																															
										关键词: 
																																	 
																											废菌渣活性炭 苯胺 正交实验 电化学再生 吸附  
																																																			
																																																																																																																																 
					 
													
						
														Abstract 
						
						
							
								Using waste mushroom residue(MR) as material,mushroom residue activated carbon (MRAC) was produced by ZnCl2  activation. The saturated MRAC produced by adsorbing aniline wastewater was regenerated by electrochemical method. The influence of current,electrolyte concentration of NaCl,electrolysis time and pH on the regeneration effect was investigated. And the optimal regeneration conditions were explored through orthogonal experiments. The results showed that,under the conditions of pH of 5,current of 300 mA,NaCl mass concentration of 15 g/L,and regeneration time of 1.5 h,the regeneration rate of MRAC was as high as 98.43%,and the repeatability of electrochemical regeneration was good. After six cycles,the regeneration effect was stable,and the regeneration rate could still reach 87.53%. FT-IR,BET and SEM were used to characterize the MRAC after regeneration and the adsorbed aniline-saturated MRAC before regeneration. The results showed that the aniline on the surface of the regenerated MRAC was desorbed,and functional groups such as hydroxyl groups were recovered. The BET specific surface area and pore volume of the MRAC after regeneration increased,and they were 1.54 times and 1.36 times that of unregenerated saturated MRAC,respectively. The pore size of micropores was concentrated between 0.4 and 0.5 nm,and the pore size of mesopores was concentrated at 4 nm. Electron microscope images showed that the electrochemical regeneration process did not significantly damage the surface structure of MRAC,and the regenerated MRAC had abundant pore structure. 
							
																																												Keywords: 
																				
																							mushroom residue activated carbon aniline orthogonal experiment electrochemical regeneration adsorption  
																								
						 
					 
								
						
				
					
					
						本文引用格式 
						
							毕俊乐, 李红艳, 张峰, 李尚明. 吸附废水中苯胺的废菌渣活性炭电化学再生 . 工业水处理 [J], 2022, 42(7):  101-108 doi:10.19965/j.cnki.iwt.2021-0952
						
													
								BI Junle. Electrochemical regeneration of mushroom residue activated carbon adsorbed aniline in waste water . Industrial Water Treatment 
											 
				 
				
								
					
						
							
																															
	
		苯胺是一种有毒、可燃的无色油状液体,通常作为一种重要的化工原料和精细化工中间体被广泛应用于橡胶、染料、医药、农药等领域〔1 〕 。苯胺的毒性非常大,可通过呼吸道和皮肤侵入人体,对人的神经和血管系统产生剧烈的毒害作用,并损害人体的肝脏功能〔2 〕 。大量研究显示,苯胺可以在自然界长期存在,具有明显的生物蓄积性,能增加人类致癌风险,对环境造成巨大的污染〔3 〕 。目前,苯胺已被我国列入“中国环境优先控制污染物黑名单”,排放标准中要求苯胺类质量浓度≤1.0 mg/L〔3 -4 〕 。
	 
 																																
	
		工业上处理苯胺废水常用的方法有吸附法、萃取法、Fenton氧化法和生物法等〔5 〕 。活性炭(AC)吸附法作为一种经济高效的方法,对废水中苯胺的处理具有良好效果〔6 -8 〕 。但吸附饱和的AC难于处置的问题,极大限制了AC在苯胺废水处理中的实际应用。直接丢弃饱和炭,不但是一种资源的浪费,还会对生态环境造成污染〔9 〕 ,所以,再生废弃AC具有重要的经济和环境效益。目前,AC的传统再生方法有热再生法、化学药剂再生法和生物再生法等。但传统再生方法存在能耗高、炭损耗高、炭孔隙堵塞和再生速率较低等问题〔9 -12 〕 。电化学再生作为一种新型再生方法,具有操作简便、再生效率高、炭损耗低等优点,目前已有大量研究〔13 -16 〕 ,但这些研究大部分聚焦于电化学装置的改进与再生效率的提高,对自制生物质吸附材料的再生处理以及再生过程中材料的微观结构变化研究较少〔14 ,17 〕 。
	 
 																																
	
		笔者以苯胺为吸附质,对自制废菌渣活性炭(MRAC)进行吸附饱和,而后对其进行电化学再生,考察了电化学再生反应条件如电流等因素对再生率的影响,利用正交实验选择出最佳的再生条件,同时对材料进行表征,分析电化学再生过程中MRAC表面基团与孔洞结构的变化,为探究MRAC电化学再生机理提供参考。
	 
 																																
			
			
			1 实验材料和方法
		 
				
			
			
			1.1 材料
		 
					
	
		废菌棒,取自山西省生物研究院有限公司食用菌研究中心;超纯水,由ZMQS50001超纯水系统(美国密理博)所产。
	 
 					
	
		苯胺、HCl、H2 SO4 、ZnCl2 、NaCl、N -(1-萘)乙二胺,购自天津北辰方正试剂厂;NaOH、KHSO4 、氨基磺酸胺,购自天津恒兴化学药剂有限公司。以上试剂均为分析纯。
	 
 					
	
		FS200型粉碎机,常州方科仪器有限公司;SX2-4-10型箱式电阻炉,北京科伟永兴仪器有限公司;HZQ-F160型全温振荡培养箱,苏州培英实验设备有限公司;UV-500分光光度计,上海元析仪器有限公司;FE20精密pH计,梅特勒-托里多仪器有限公司;MS603D可调直流稳压电源,东莞迈胜电子科技有限公司。
	 
 					
			
			
			1.2 实验方法
		 
				
			
			
			1.2.1 实验装置
		 
					
	
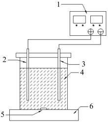
		实验装置见图1 。反应器为直径75 mm、高75 mm的圆柱体。使用直径5 mm、长80 mm的高纯石墨棒分别作为阴阳电极,电极间距5 cm。
	 
 																																																																																																																				图1 
		
							
						
									图1  
											电化学再生装置  
																			1—直流电源;2—阳极;3—阴极;4—饱和MRAC;5—转子;6—搅拌器
																		Fig. 1  
											Electrochemical regeneration apparatus  
															 
		 
		
					
			
			
			1.2.2 MRAC的制备
		 
					
	
		将废菌棒去皮、清洗、干燥后磨碎,过60目(0.250 mm)筛。取10 g废菌棒粉末与40 g质量分数为50%的ZnCl2 溶液混合,搅拌均匀后浸渍12 h。浸渍后的材料置于600 ℃马弗炉中活化2 h,冷却后用质量分数1%的稀盐酸清洗,再用蒸馏水洗至中性,放入80 ℃烘箱中干燥12 h。制成的样品磨碎过60目筛后,放入密封袋中保存〔18 〕 。
	 
 					
			
			
			1.2.3 苯胺吸附实验
		 
					
	
		将0.5 g干燥MRAC置于100 mL质量浓度为100 mg/L的苯胺溶液中,以150 r/min的速率在25 ℃恒温摇床中振荡3 h至达到吸附平衡后将饱和MRAC取出,用蒸馏水洗净,在80 ℃下烘干12 h,置于干燥器中待用。重复进行3次平行试验,根据吸附前后苯胺质量浓度的变化计算苯胺的去除率。
	 
 					
			
			
			1.2.4 电化学再生实验
		 
					
	
		以NaCl为电解质,分别考察电化学再生时电流、再生时间、电解质质量浓度、pH对吸附苯胺饱和MRAC再生率的影响。
	 
 					
	
		在反应器中加入200 mL NaCl溶液与0.5 g饱和MRAC,接通电源进行再生实验。之后将再生后的MRAC取出,用蒸馏水洗净,80 ℃下干燥12 h,再重复进行3次平行吸附实验,并根据吸附前后吸附容量的变化计算MRAC的再生率。
	 
 						
			
			
			1.3 分析方法
		 
				
			
			
			1.3.1 苯胺浓度的测定
		 
					
	
		依据N -(1-萘基)乙二胺偶氮光度法(GB 11889—1989)测定溶液中的苯胺浓度。
	 
 					
			
			
			1.3.2 傅里叶变换红外光谱(FT-IR)分析
		 
					
	
		使用美国赛默飞公司生产的型号为IS5的傅里叶变换红外分光光度计测定材料表面官能团的种类和吸收峰强度。少量待测样品与KBr混合(质量比1∶100),在玛瑙研钵中充分研磨,进行压片测定。
	 
 					
			
			
			1.3.3 比表面积测试(BET)分析
		 
					
	
		使用美国Micromeritics公司生产的ASAP2460型比表面积分析仪在150 ℃下进行氮气吸附脱附实验,样品的比表面积采用多点BET法计算,孔隙结构由Barrett-Joyner-Halenda(BJH)和Horvath-Kawazoe(HK)法计算所得。
	 
 					
			
			
			1.3.4 扫描电子显微镜(SEM)分析
		 
					
	
		使用德国Zeiss公司生产的型号为GeminiSEM-300型场发射扫描电镜分析样品的微观表面形貌结构。待测样品在放入扫描电镜前先进行喷金处理以增强样品导电性,之后放入扫描电镜内以不同放大倍数进行观察、拍照。
	 
 																																			
			
			
			2 结果与讨论
		 
				
			
			
			2.1 电化学再生的影响因素探究
		 
				
			
			
			2.1.1 再生条件对MRAC再生的影响
		 
					
	
		在25 ℃的反应器内,投入0.5 g饱和MRAC,研究电流(50、100、150、200、250、300 mA)、再生时间(0.5、1、1.5、2、3、6 h)、电解质质量浓度(5、10、15、20、25、30 g/L)、pH(1、3、5、7、9、11、13)对MRAC电化学再生效果的影响,结果见图2 。探究上述各因素影响时,对应的其他实验条件分别为:NaCl质量浓度为10 g/L、电流为200 mA、pH为7、再生时间为2 h,不停搅拌。
	 
 																																																																																										图2 
		
							
						
									图2  
											再生因素对再生率的影响  
																	Fig. 2  
											Effect of regeneration factors on regeneration rate  
															 
		 
		
					
	
		由图2 (a)可知,增大电流,MRAC再生率得到明显提高。这是因为电流是电解反应的推动力,控制着电极表面氧化还原反应的速率,施加电流增强,电解液中电子传递速度会加快,从而增强电解反应,产生更多的氧化自由基,促进苯胺的氧化降解〔19 -20 〕 。但当电流大于200 mA之后,MRAC再生率增长减缓,这可能是因为反应中自由基与吸附质的结合达到上限,同时高电流可能会破坏MRAC的微孔结构和表面基团,导致其再生率增长减缓〔21 -22 〕 。此外,高电流还会造成电极钝化,加剧副反应发生〔23 〕 。
	 
 					
	
		由图2 (b)可知,MRAC再生率随着再生时间的延长而提高。这是由于再生时间延长,会提高氧化自由基的产量,推动污染物的氧化降解,提高再生率。但再生时间大于2 h后,MRAC再生率趋于稳定并略有下降,可能是反应产物在活性炭上堆积,堵塞微孔结构,降低了再生效果〔24 〕 。
	 
 					
	
		由图2 (c)可知,当电解质NaCl质量浓度为15 g/L时,MRAC再生率达到峰值,之后趋于稳定。这是因为NaCl作为电解质,不仅为溶液提供导电性,还参与电化学反应。随着NaCl浓度升高,溶液中的导电离子增加,并且产生更多如ClO- 等的氧化物质,提高了氧化反应速率,使得MRAC再生率不断增大〔14 ,25 〕 。但当NaCl质量浓度大于15 g/L时,MRAC再生率趋于稳定,说明此时装置内氧化物质充足,NaCl浓度已经不是限制性因素〔26 〕 。
	 
 					
	
		由图2 (d)可知,随着溶液pH的增加,MRAC再生率先增后减,在pH为5时达到峰值,此时MRAC再生率为97.32%。苯胺作为弱碱性离子化合物〔6 〕 ,pH会影响其在电化学再生过程中的脱附与氧化,研究表明,强酸性环境会中和一部分活性炭表面官能团,导致在强酸性条件下MRAC的再生率要远低于强碱性环境〔27 〕 ,此外,强酸性条件下,MRAC与苯胺的静电斥力也会降低,苯胺较难脱附,进一步降低了再生率〔14 〕 。碱性环境中,氢氧根离子的竞争吸附作用会促进苯胺的解吸〔14 〕 ,但随着碱性增强,苯胺的溶解度降低,同时抑制了以次氯酸为代表的氧化物的氧化作用,导致MRAC再生率略降〔26 〕 。因此,适宜的酸性有助于抑制电化学副反应的产生〔28 〕 ,且能够提升活性氯物质的氧化作用,有利于MRAC再生率的提高。
	 
 					
			
			
			2.1.2 正交实验
		 
					
	
		电流、电解质质量浓度、电解时间和pH为电化学再生过程中的4个主要影响因素,因此,设置5因素4水平正交实验L 16 (45 )来研究最佳电化学再生条件。结果见表1 、表2 。
	 
 																																																	
			
																																																			
			
							
	
		由表1 可知,影响MRAC再生率的各因素主次顺序为:电解质质量浓度>电解时间>电流>pH。其中,pH相较于其他3个因素对电化学再生过程的影响较小。
	 
 					
	
		方差分析可通过将总离差平方和分解为各因素的离差平方和与误差离差平方和,构造F 统计量,对各因素的显著性进行检验〔29 〕 。表2 实验结果的方差分析显示,电流、电解质质量浓度和电解时间对于再生率有显著影响(0.01<P <0.05)。根据表1 各因素的K 值分析可得最优再生条件为A 4 B 2 C 2 D 2 ,该条件下进行再生,MRAC的再生率为98.43%。
	 
 					
			
			
			2.1.3 再生重复性实验
		 
					
	
		在pH为7,电流为200 mA,再生时间1.5 h,NaCl质量浓度为15 g/L的条件下,对吸附苯胺饱和的MRAC进行多次吸附-再生,再生率(相对于原始活性炭的吸附量)见图3 。
	 
 																																																																																										图3 
		
							
						
									图3  
											循环次数对再生率的影响  
																	Fig. 3  
											Effect of cycle times on regeneration rate  
															 
		 
		
					
	
		从图3 可以看出,经历6次吸附-再生循环后,MRAC的再生率仍可达87.53%,吸附能力没有明显降低,说明电化学再生效果比较稳定〔28 〕 ,MRAC可以多次重复使用。
	 
 						
			
			
			2.2 MRAC再生机理分析
		 
				
			
			
			2.2.1 FT-IR分析
		 
					
	
		为了解电化学再生过程中发生的反应,对再生前后的MRAC进行FT-IR(红外光谱)分析,对照原始MRAC观察MRAC再生前后表面基团的变化情况,结果见图4 。
	 
 																																																																																										图4 
		
							
						
									图4  
											MRAC的红外光谱  
																	Fig. 4  
											IR spectra of MRAC  
															 
		 
		
					
	
		由图4 可知,吸附苯胺后的饱和MRAC在895 cm-1 处出现硝基中C—N的特征吸收峰,表明苯胺中氨基与MRAC表面基团反应产生了硝基;1 393 cm-1 处代表活性炭表面酰胺中C—N的吸收峰变小;在3 413 cm-1 处的吸收峰可能是活性炭表面羟基中缔合的—OH和酰胺N—H伸缩振动造成的〔19 〕 ,与原始MRAC对比,饱和MRAC的—OH和N—H吸收峰强度减弱,表明吸附过程中这些基团可能与苯胺形成了新的氢键,促进了苯胺的吸附。
	 
 					
	
		再生MRAC的吸收峰与原始MRAC的吸收峰基本吻合,3 442 cm-1 处的—OH和N—H峰强度恢复,1 066 cm-1 处的对应着伯醇中C—O的特征峰出现,表明再生后MRAC表面以羟基为代表的表面基团和对吸附起重要作用的氢键数量增加〔30 〕 ,形成更多的吸附位点〔31 〕 ,吸附能力得到恢复。
	 
 					
			
			
			2.2.2 BET分析
		 
					
	
		为分析再生前后MRAC表面结构的变化,对照原始MRAC对电化学再生前后MRAC进行BET分析,结果见表3 。
	 
 																																																	
			
							
	
		由表3 可知,饱和MRAC相较于原始MRAC比表面积和孔容降低,平均孔径增大,表明吸附过程中MRAC表面的孔洞结构在苯胺吸附中起关键作用〔17 〕 。再生后MRAC的比表面积、总孔容和平均孔径相较于原始MRAC均增大,可能由于吸附过程中的吸附作用、电化学再生过程中的氧化作用和苯胺的脱附作用对MRAC表面产生一定的磨损和孔蚀〔31 〕 。平均孔径的增大有利于减小吸附时的扩散阻力,通过低阻力的新传输途径增强扩散〔17 〕 使苯胺更容易被MRAC吸附至孔内。再生前后MRAC的表面结构参数变化进一步表明MRAC通过电化学再生后,物理吸附性能得到恢复〔26 〕 。
	 
 					
	
		电化学再生前后MRAC的N2 吸附-脱附等温线见图5 。
	 
 																																																																																										图5 
		
							
						
									图5  
											MRAC的N2 吸附-脱附等温线  
																	Fig. 5  
											N2  adsorption-desorption isotherm of MRAC  
															 
		 
		
					
	
		根据国际纯粹与应用化学联合会(IUPAC)分类,图5 中电化学再生前后MRAC的吸附-脱附等温线均为Ⅵ型等温线,再生过程对孔结构没有产生较大影响。两条等温线在相对压力0.4~1.0范围内存在H4型磁滞回线,证明再生前后的MRAC孔结构丰富,是饱含微孔和介孔的吸附剂。
	 
 					
	
		采用HK和BJH方法计算原始MRAC和再生前后MRAC的孔径分布,结果见图6 。
	 
 																																																																																										图6 
		
							
						
									图6  
											MRAC的孔径分布  
																	Fig. 6  
											Pore size distribution of MRAC  
															 
		 
		
					
	
		由图6 可知,原始MRAC中孔径结构以微孔为主,含少量介孔,其中微孔主要集中在0.4~0.5 nm之间,介孔主要集中在4 nm附近的区域。吸附苯胺后,MRAC中0.4~0.6 nm的微孔数量减少,4 nm的介孔大幅度降低,表明这些区域的孔径结构在吸附过程中起主要作用。再生后MRAC的微孔和中孔数量得到了恢复,说明电化学处理对孔分布尺寸有影响,可以改善活性炭的孔隙结构与整体传质能力〔32 〕 ,使活性炭恢复吸附能力。
	 
 					
			
			
			2.2.3 SEM分析
		 
					
	
		原始MRAC、饱和MRAC和再生MRAC的SEM见图7 。
	 
 																																																																																										图7 
		
							
						
									图7  
											MRAC的SEM  
																	Fig. 7  
											SEM micrographs of MRAC  
															 
		 
		
					
	
		图7 显示,原始MRAC呈不规则块状,表面丰富的孔洞结构表明MRAC具有很强的吸附能力;待MRAC吸附苯胺饱和后,表面孔隙减少,并且有大量细颗粒附着于活性炭表面;MRAC经电化学再生后,表面的吸附质脱附,并且相较于原始MRAC孔洞增多,符合BET分析中再生MRAC总孔容增大的特点。这证明了电化学再生对于活性炭的孔洞结构有良好的修复效果,再生后的MRAC物理吸附能力得到恢复。
	 
 					
			
			
			2.2.4 小结
		 
					
	
		通过电化学再生,MRAC的吸附性能得到恢复。FT-IR分析表明,在吸附苯胺过程中,MRAC表面的羟基等氢键为主的官能团起到重要作用,通过电化学再生,MRAC表面这些官能团数量增加,形成更多的吸附位点,化学吸附性能得以恢复。BET和SEM分析表明,MRAC因吸附苯胺而消失的微孔和介孔结构经电化学再生后得到恢复,再生MRAC的比表面积和孔容增大,分别为再生前饱和MRAC的1.54倍和1.36倍。同时电镜图像显示,再生MRAC表面无明显损伤,附着物减少,孔洞结构增加,证明经过电化学再生之后,MRAC的物理吸附性能得到恢复。
	 
 																																			
			
			
			3 结论
		 
					
	
		(1)采用自制MRAC为吸附剂,以人工配制的苯胺溶液为目标污染物使MRAC吸附饱和,对其进行再生实验。通过单因素实验以及正交实验的研究得出MRAC最佳再生条件,即NaCl电解液质量浓度为15 g/L、pH为5、电流为300 mA、再生时间为1.5 h,此最佳条件下,MRAC再生率达98.43%。经过6次吸附-再生循环后,再生率没有明显降低,说明电化学再生的重复性较好,可以实现MRAC的长期循环利用。
	 
 					
	
		(2)FT-IR分析表明电化学再生对MRAC的表面基团有良好的再生效果,BET和SEM分析进一步表明电化学再生后,MRAC表面吸附物质被脱附,孔隙结构复原,整体传质能力提高,吸附性能得到较好的恢复。
	 
 																																																																																				
							
								参考文献  
								 
									
										View Option  
									
								
							
							
																																																		
														
																															[1]
																													 
													
																																							
														
															 [本文引用: 1] 
															 
																																									
													
																																																			
												
ZHANG  Haibing ZHOU  Yasong GUO  Shaohui et al Advances of advanced oxidation process to treat aniline wastewater
[J]. Industrial Water Treatment ,2021 ,41 (6 ):167 -172 . doi:10.11894/iwt.2020-0641    
																																	
												
													 [本文引用: 1] 
													 
																																			
											
																																																				 
												
												
												
												
																											[4]
																									 
												
																																	
												
													 [本文引用: 1] 
													 
																																			
											
																																																			
												
MA  Xianglin FU  Aiping New development of aniline industrial wastewater treatment technology
[J]. Chemical Engineering & Equipment ,2012 (7 ):139 -141 . doi:10.2495/aie120511    
																																	
												
													 [本文引用: 1] 
													 
																																			
											
																																																				 
												
												
																											[5]
																									 
												
												黄卓 ,冯梦龙 ,彭敬慧 ,等 苯胺类废水处理技术研究进展
[J]. 染料与染色 ,2018 ,55 (5 ):54 -57 . 
																																	
												
													 [本文引用: 1] 
													 
																																			
											
																																																			
												
HUANG  Zhuo FENG  Menglong PENG  Jinghui et al The progress of aniline wastewater treatment
[J]. Dyestuffs and Coloration ,2018 ,55 (5 ):54 -57 . 
																																	
												
													 [本文引用: 1] 
													 
																																			
											
																																																				 
												
												
												
																											[7]
																									 
												
																																	
												
											
																																																			
												
WU  Guangqian WU  Guannan ZHANG  Qisheng et al Study on adsorption process and mechanism of p -nitroaniline on bamboo charcoal
[J]. Chinese Journal of Environmental Engineering ,2017 ,11 (1 ):251 -259 . doi:10.12030/j.cjee.201509119    
																																	
												
											
																																																				 
												
												
																											[8]
																									 
												
												余筱洁 ,周存山 ,王允祥 ,等 山核桃壳活性炭制备及其吸附苯胺特性
[J]. 过程工程学报 ,2010 ,10 (1 ):65 -69 . 
																																	
												
													 [本文引用: 1] 
													 
																																			
											
																																																			
												
YU  Xiaojie ZHOU  Cunshan WANG  Yunxiang et al Preparation of activated carbon from shell of Carya cathayensis  S. and its adsorption behavior of aniline
[J]. The Chinese Journal of Process Engineering ,2010 ,10 (1 ):65 -69 . 
																																	
												
													 [本文引用: 1] 
													 
																																			
											
																																																				 
												
												
												
																											[10]
																									 
												
												胡莹 活性炭再生技术研究与发展
[J]. 煤炭与化工 ,2018 ,41 (4 ):136 -139 . 
																																	
												
											
																																																			
												
HU  Ying Research and development on activated carbon regeneration technologies
[J]. Coal and Chemical Industry ,2018 ,41 (4 ):136 -139 . 
																																	
												
											
																																																				 
												
												
																											[11]
																									 
												
																																	
												
											
																																																			
												
ZHANG  Qingzhi WU  Mao ZHANG  Yongmei Research and application of waste activated carbon regeneration technology
[J]. China New Technologies and Products ,2011 (20 ):4 -5 . doi:10.3969/j.issn.1673-9957.2011.20.005    
																																	
												
											
																																																				 
												
												
																											[12]
																									 
												
												刘小艳 ,蔡万欣 ,赵立坤 ,等 活性炭去除游离氯的失效机制及热再生研究
[J]. 化工学报 ,2020 ,71 (4 ):1781 -1790 . 
																																	
												
													 [本文引用: 1] 
													 
																																			
											
																																																			
												
LIU  Xiaoyan CAI  Wanxin ZHAO  Likun et al Failure mechanism and thermal regeneration of activated carbon for free chlorine removal
[J]. CIESC Journal ,2020 ,71 (4 ):1781 -1790 . 
																																	
												
													 [本文引用: 1] 
													 
																																			
											
																																																				 
												
												
																											[13]
																									 
												
												刘晓咏 ,欧阳平 吸附材料电化学再生的研究进展
[J]. 材料科学与工程学报 ,2017 ,35 (6 ):1022 -1027 . 
																																	
												
													 [本文引用: 1] 
													 
																																			
											
																																																			
												
LIU  Xiaoyong OUYANG  Ping Research progress on electrochemical regeneration of adsorbent materials
[J]. Journal of Materials Science and Engineering ,2017 ,35 (6 ):1022 -1027 . 
																																	
												
													 [本文引用: 1] 
													 
																																			
											
																																																				 
												
												
																											[14]
																									 
												
												MCQUILLAN  R V STEVENS  G W MUMFORD  K A The electrochemical regeneration of granular activated carbons:A review
[J]. Journal of Hazardous Materials ,2018 ,355 :34 -49 . doi:10.1016/j.jhazmat.2018.04.079    
																																	
												
													 [本文引用: 4] 
													 
																																			
											
																																																															 
												
												
																											[15]
																									 
												
																																	
												
											
																																																			
												
WANG  Aiai Study on electrochemical regeneration of waste activated carbon and its safety evaluation
[D]. Tianjin :Tianjin University of Technology ,2019 . doi:10.5004/dwt.2019.24296    
																																	
												
											
																																																				 
												
												
																											[16]
																									 
												
												宋京 颗粒活性炭电化学再生技术研究与安全评价
[D]. 天津 :天津理工大学 ,2020 . 
																																	
												
													 [本文引用: 1] 
													 
																																			
											
																																																			
												
SONG  Jing Research and safety evaluation of electrochemical regeneration technology of granular activated carbon
[D]. Tianjin :Tianjin University of Technology ,2020 . 
																																	
												
													 [本文引用: 1] 
													 
																																			
											
																																																				 
												
												
																											[17]
																									 
												
												GARCIA-RODRIGUEZ  O VILLOT  A OLVERA-VARGAS  H et al Impact of the saturation level on the electrochemical regeneration of activated carbon in a single sequential reactor
[J]. Carbon ,2020 ,163 :265 -275 . doi:10.1016/j.carbon.2020.02.041    
																																	
												
													 [本文引用: 3] 
													 
																																			
											
																																																															 
												
												
																											[18]
																									 
												
												李红艳 ,程济慈 ,田晋梅 ,等 废菌渣活性炭对水中Cr(Ⅵ)的去除研究
[J]. 化工新型材料 ,2019 ,47 (8 ):185 -189 . 
																																	
												
													 [本文引用: 1] 
													 
																																			
											
																																																			
												
LI  Hongyan CHENG  Jici TIAN  Jinmei et al Removal of Cr(Ⅵ) from aqueous solution with MRAC
[J]. New Chemical Materials ,2019 ,47 (8 ):185 -189 . 
																																	
												
													 [本文引用: 1] 
													 
																																			
											
																																																				 
												
												
																											[19]
																									 
												
												李碟 ,卢钧 ,刘晓琛 ,等 饱和粉末活性炭电化学再生研究
[J]. 环境污染与防治 ,2020 ,42 (4 ):417 -421 . 
																																	
												
													 [本文引用: 2] 
													 
																																			
											
																																																			
												
LI  Die LU  Jun LIU  Xiaochen et al Study on electrochemical regeneration of saturated powdered activated carbon
[J]. Environmental Pollution & Control ,2020 ,42 (4 ):417 -421 . 
																																	
												
													 [本文引用: 2] 
													 
																																			
											
																																																				 
												
												
												
																											[21]
																									 
												
												KARABACAKOĞLU  B SAVLAK  Ö Electrochemical regeneration of Cr(Ⅵ) saturated granular and powder activated carbon:Comparison of regeneration efficiency
[J]. Industrial & Engineering Chemistry Research ,2014 ,53 (33 ):13171 -13179 . doi:10.1021/ie500161d    
																																	
												
													 [本文引用: 1] 
													 
																																			
											
																																																															 
												
												
												
																											[23]
																									 
												
												HU  Zhenzhong BEURET  M KHAN  H et al Development of a recyclable remediation system for gaseous BTEX:Combination of iron oxides nanoparticles adsorbents and electrochemistry
[J]. ACS Sustainable Chemistry & Engineering ,2014 ,2 (12 ):2739 -2747 . doi:10.1021/sc500479b    
																																	
												
													 [本文引用: 1] 
													 
																																			
											
																																																															 
												
												
																											[24]
																									 
												
												SHARIF  F GAGNON  L R MULMI  S et al Electrochemical regeneration of a reduced graphene oxide/magnetite composite adsorbent loaded with methylene blue
[J]. Water Research ,2017 ,114 :237 -245 . doi:10.1016/j.watres.2017.02.042    
																																	
												
													 [本文引用: 1] 
													 
																																			
											
																																																															 
												
												
																											[25]
																									 
												
																																	
												
													 [本文引用: 1] 
													 
																																			
											
																																																			
												
LI  Kun MO  Hengliang CHEN  Yili et al Research on the treatment of nanofiltration concentrated water by activated carbon adsorption-electrochemical regeneration method
[J]. Industrial Water Treatment ,2017 ,37 (12 ):56 -59 . doi:10.11894/1005-829x.2017.37(12).056    
																																	
												
													 [本文引用: 1] 
													 
																																			
											
																																																				 
												
												
																											[26]
																									 
												
																																	
												
													 [本文引用: 3] 
													 
																																			
											
																																																			
												
WANG  Aiai ZHAO  Lixin QIN  Songyan et al Electrochemical regeneration of activated carbon adsorbed and saturated by 2,4-dinitrotoluene
[J]. Environmental Protection of Chemical Industry ,2019 ,39 (6 ):666 -670 . doi:10.3969/j.issn.1006-1878.2019.06.011    
																																	
												
													 [本文引用: 3] 
													 
																																			
											
																																																				 
												
												
																											[27]
																									 
												
												FERRÁNDEZ-GÓMEZ  B RUIZ-ROSAS  R BEAUMONT  S et al Electrochemical regeneration of spent activated carbon from drinking water treatment plant at different scale reactors
[J]. Chemosphere ,2021 ,264 :128399 . doi:10.1016/j.chemosphere.2020.128399    
																																	
												
													 [本文引用: 1] 
													 
																																			
											
																																																															 
												
												
																											[28]
																									 
												
												傅宝林 ,郭建维 ,钟选斌 ,等 含油废水吸附饱和活性炭纤维的电化学再生
[J]. 化工学报 ,2013 ,64 (9 ):3250 -3255 . 
																																	
												
													 [本文引用: 2] 
													 
																																			
											
																																																			
												
FU  Baolin GUO  Jianwei ZHONG  Xuanbin et al Electrochemical regeneration of activated carbon fiber saturated with oily wastewater
[J]. CIESC Journal ,2013 ,64 (9 ):3250 -3255 . 
																																	
												
													 [本文引用: 2] 
													 
																																			
											
																																																				 
												
												
												
																											[30]
																									 
												
												SHARIF  F ROBERTS  E P L Anodic electrochemical regeneration of a graphene/titanium dioxide composite adsorbent loaded with an organic dye
[J]. Chemosphere ,2020 ,241 :125020 . doi:10.1016/j.chemosphere.2019.125020    
																																	
												
													 [本文引用: 1] 
													 
																																			
											
																																																															 
												
												
																											[31]
																									 
												
												ALVAREZ-PUGLIESE  C E ACUÑA-BEDOYA  J VIVAS-GALARZA  S et al Electrolytic regeneration of granular activated carbon saturated with diclofenac using BDD anodes
[J]. Diamond and Related Materials ,2019 ,93 :193 -199 . doi:10.1016/j.diamond.2019.02.018    
																																	
												
													 [本文引用: 2] 
													 
																																			
											
																																																															 
												
												
																											[32]
																									 
												
												ZHOU  Wei MENG  Xiaoxiao DING  Yani et al “Self-cleaning” electrochemical regeneration of dye-loaded activated carbon
[J]. Electrochemistry Communications ,2019 ,100 :85 -89 . doi:10.1016/j.elecom.2019.01.025    
																																	
												
													 [本文引用: 1] 
													 
																																			
											
																																														
									
																																												
																						
												高级氧化技术处理苯胺废水应用进展
												1
												2021
												
												
																								
																																								... 苯胺是一种有毒、可燃的无色油状液体,通常作为一种重要的化工原料和精细化工中间体被广泛应用于橡胶、染料、医药、农药等领域〔1 〕 .苯胺的毒性非常大,可通过呼吸道和皮肤侵入人体,对人的神经和血管系统产生剧烈的毒害作用,并损害人体的肝脏功能〔2 〕 .大量研究显示,苯胺可以在自然界长期存在,具有明显的生物蓄积性,能增加人类致癌风险,对环境造成巨大的污染〔3 〕 .目前,苯胺已被我国列入“中国环境优先控制污染物黑名单”,排放标准中要求苯胺类质量浓度≤1.0 mg/L〔3 -4 〕 . ...
																																							 
																							 
																																		
																						
												高级氧化技术处理苯胺废水应用进展
												1
												2021
												
												
																								
																																								... 苯胺是一种有毒、可燃的无色油状液体,通常作为一种重要的化工原料和精细化工中间体被广泛应用于橡胶、染料、医药、农药等领域〔1 〕 .苯胺的毒性非常大,可通过呼吸道和皮肤侵入人体,对人的神经和血管系统产生剧烈的毒害作用,并损害人体的肝脏功能〔2 〕 .大量研究显示,苯胺可以在自然界长期存在,具有明显的生物蓄积性,能增加人类致癌风险,对环境造成巨大的污染〔3 〕 .目前,苯胺已被我国列入“中国环境优先控制污染物黑名单”,排放标准中要求苯胺类质量浓度≤1.0 mg/L〔3 -4 〕 . ...
																																							 
																							 
																																		
																						
												苯胺的健康效应研究进展
												1
												2020
												
												
																								
																																								... 苯胺是一种有毒、可燃的无色油状液体,通常作为一种重要的化工原料和精细化工中间体被广泛应用于橡胶、染料、医药、农药等领域〔1 〕 .苯胺的毒性非常大,可通过呼吸道和皮肤侵入人体,对人的神经和血管系统产生剧烈的毒害作用,并损害人体的肝脏功能〔2 〕 .大量研究显示,苯胺可以在自然界长期存在,具有明显的生物蓄积性,能增加人类致癌风险,对环境造成巨大的污染〔3 〕 .目前,苯胺已被我国列入“中国环境优先控制污染物黑名单”,排放标准中要求苯胺类质量浓度≤1.0 mg/L〔3 -4 〕 . ...
																																							 
																							 
																																		
																						
												苯胺的健康效应研究进展
												1
												2020
												
												
																								
																																								... 苯胺是一种有毒、可燃的无色油状液体,通常作为一种重要的化工原料和精细化工中间体被广泛应用于橡胶、染料、医药、农药等领域〔1 〕 .苯胺的毒性非常大,可通过呼吸道和皮肤侵入人体,对人的神经和血管系统产生剧烈的毒害作用,并损害人体的肝脏功能〔2 〕 .大量研究显示,苯胺可以在自然界长期存在,具有明显的生物蓄积性,能增加人类致癌风险,对环境造成巨大的污染〔3 〕 .目前,苯胺已被我国列入“中国环境优先控制污染物黑名单”,排放标准中要求苯胺类质量浓度≤1.0 mg/L〔3 -4 〕 . ...
																																							 
																							 
																																		
																						
												苯胺对水稻的毒性及其残留分析
												2
												2021
												
												
																								
																																								... 苯胺是一种有毒、可燃的无色油状液体,通常作为一种重要的化工原料和精细化工中间体被广泛应用于橡胶、染料、医药、农药等领域〔1 〕 .苯胺的毒性非常大,可通过呼吸道和皮肤侵入人体,对人的神经和血管系统产生剧烈的毒害作用,并损害人体的肝脏功能〔2 〕 .大量研究显示,苯胺可以在自然界长期存在,具有明显的生物蓄积性,能增加人类致癌风险,对环境造成巨大的污染〔3 〕 .目前,苯胺已被我国列入“中国环境优先控制污染物黑名单”,排放标准中要求苯胺类质量浓度≤1.0 mg/L〔3 -4 〕 . ...
																												
																																									... 〔3 -4 〕. ...
																																							 
																							 
																																		
																						
												苯胺对水稻的毒性及其残留分析
												2
												2021
												
												
																								
																																								... 苯胺是一种有毒、可燃的无色油状液体,通常作为一种重要的化工原料和精细化工中间体被广泛应用于橡胶、染料、医药、农药等领域〔1 〕 .苯胺的毒性非常大,可通过呼吸道和皮肤侵入人体,对人的神经和血管系统产生剧烈的毒害作用,并损害人体的肝脏功能〔2 〕 .大量研究显示,苯胺可以在自然界长期存在,具有明显的生物蓄积性,能增加人类致癌风险,对环境造成巨大的污染〔3 〕 .目前,苯胺已被我国列入“中国环境优先控制污染物黑名单”,排放标准中要求苯胺类质量浓度≤1.0 mg/L〔3 -4 〕 . ...
																												
																																									... 〔3 -4 〕. ...
																																							 
																							 
																																		
																						
												苯胺工业废水处理技术新进展
												1
												2012
												
												
																								
																																								... 苯胺是一种有毒、可燃的无色油状液体,通常作为一种重要的化工原料和精细化工中间体被广泛应用于橡胶、染料、医药、农药等领域〔1 〕 .苯胺的毒性非常大,可通过呼吸道和皮肤侵入人体,对人的神经和血管系统产生剧烈的毒害作用,并损害人体的肝脏功能〔2 〕 .大量研究显示,苯胺可以在自然界长期存在,具有明显的生物蓄积性,能增加人类致癌风险,对环境造成巨大的污染〔3 〕 .目前,苯胺已被我国列入“中国环境优先控制污染物黑名单”,排放标准中要求苯胺类质量浓度≤1.0 mg/L〔3 -4 〕 . ...
																																							 
																							 
																																		
																						
												苯胺工业废水处理技术新进展
												1
												2012
												
												
																								
																																								... 苯胺是一种有毒、可燃的无色油状液体,通常作为一种重要的化工原料和精细化工中间体被广泛应用于橡胶、染料、医药、农药等领域〔1 〕 .苯胺的毒性非常大,可通过呼吸道和皮肤侵入人体,对人的神经和血管系统产生剧烈的毒害作用,并损害人体的肝脏功能〔2 〕 .大量研究显示,苯胺可以在自然界长期存在,具有明显的生物蓄积性,能增加人类致癌风险,对环境造成巨大的污染〔3 〕 .目前,苯胺已被我国列入“中国环境优先控制污染物黑名单”,排放标准中要求苯胺类质量浓度≤1.0 mg/L〔3 -4 〕 . ...
																																							 
																							 
																																		
																						
												苯胺类废水处理技术研究进展
												1
												2018
												
												
																								
																																								... 工业上处理苯胺废水常用的方法有吸附法、萃取法、Fenton氧化法和生物法等〔5 〕 .活性炭(AC)吸附法作为一种经济高效的方法,对废水中苯胺的处理具有良好效果〔6 -8 〕 .但吸附饱和的AC难于处置的问题,极大限制了AC在苯胺废水处理中的实际应用.直接丢弃饱和炭,不但是一种资源的浪费,还会对生态环境造成污染〔9 〕 ,所以,再生废弃AC具有重要的经济和环境效益.目前,AC的传统再生方法有热再生法、化学药剂再生法和生物再生法等.但传统再生方法存在能耗高、炭损耗高、炭孔隙堵塞和再生速率较低等问题〔9 -12 〕 .电化学再生作为一种新型再生方法,具有操作简便、再生效率高、炭损耗低等优点,目前已有大量研究〔13 -16 〕 ,但这些研究大部分聚焦于电化学装置的改进与再生效率的提高,对自制生物质吸附材料的再生处理以及再生过程中材料的微观结构变化研究较少〔14 ,17 〕 . ...
																																							 
																							 
																																		
																						
												苯胺类废水处理技术研究进展
												1
												2018
												
												
																								
																																								... 工业上处理苯胺废水常用的方法有吸附法、萃取法、Fenton氧化法和生物法等〔5 〕 .活性炭(AC)吸附法作为一种经济高效的方法,对废水中苯胺的处理具有良好效果〔6 -8 〕 .但吸附饱和的AC难于处置的问题,极大限制了AC在苯胺废水处理中的实际应用.直接丢弃饱和炭,不但是一种资源的浪费,还会对生态环境造成污染〔9 〕 ,所以,再生废弃AC具有重要的经济和环境效益.目前,AC的传统再生方法有热再生法、化学药剂再生法和生物再生法等.但传统再生方法存在能耗高、炭损耗高、炭孔隙堵塞和再生速率较低等问题〔9 -12 〕 .电化学再生作为一种新型再生方法,具有操作简便、再生效率高、炭损耗低等优点,目前已有大量研究〔13 -16 〕 ,但这些研究大部分聚焦于电化学装置的改进与再生效率的提高,对自制生物质吸附材料的再生处理以及再生过程中材料的微观结构变化研究较少〔14 ,17 〕 . ...
																																							 
																							 
																																		
																						
												玉米秸秆生物炭对苯胺的吸附
												2
												2015
												
												
																								
																																								... 工业上处理苯胺废水常用的方法有吸附法、萃取法、Fenton氧化法和生物法等〔5 〕 .活性炭(AC)吸附法作为一种经济高效的方法,对废水中苯胺的处理具有良好效果〔6 -8 〕 .但吸附饱和的AC难于处置的问题,极大限制了AC在苯胺废水处理中的实际应用.直接丢弃饱和炭,不但是一种资源的浪费,还会对生态环境造成污染〔9 〕 ,所以,再生废弃AC具有重要的经济和环境效益.目前,AC的传统再生方法有热再生法、化学药剂再生法和生物再生法等.但传统再生方法存在能耗高、炭损耗高、炭孔隙堵塞和再生速率较低等问题〔9 -12 〕 .电化学再生作为一种新型再生方法,具有操作简便、再生效率高、炭损耗低等优点,目前已有大量研究〔13 -16 〕 ,但这些研究大部分聚焦于电化学装置的改进与再生效率的提高,对自制生物质吸附材料的再生处理以及再生过程中材料的微观结构变化研究较少〔14 ,17 〕 . ...
																												
																																									... 由图2 (d)可知,随着溶液pH的增加,MRAC再生率先增后减,在pH为5时达到峰值,此时MRAC再生率为97.32%.苯胺作为弱碱性离子化合物〔6 〕 ,pH会影响其在电化学再生过程中的脱附与氧化,研究表明,强酸性环境会中和一部分活性炭表面官能团,导致在强酸性条件下MRAC的再生率要远低于强碱性环境〔27 〕 ,此外,强酸性条件下,MRAC与苯胺的静电斥力也会降低,苯胺较难脱附,进一步降低了再生率〔14 〕 .碱性环境中,氢氧根离子的竞争吸附作用会促进苯胺的解吸〔14 〕 ,但随着碱性增强,苯胺的溶解度降低,同时抑制了以次氯酸为代表的氧化物的氧化作用,导致MRAC再生率略降〔26 〕 .因此,适宜的酸性有助于抑制电化学副反应的产生〔28 〕 ,且能够提升活性氯物质的氧化作用,有利于MRAC再生率的提高. ...
																																							 
																							 
																																		
																						
												玉米秸秆生物炭对苯胺的吸附
												2
												2015
												
												
																								
																																								... 工业上处理苯胺废水常用的方法有吸附法、萃取法、Fenton氧化法和生物法等〔5 〕 .活性炭(AC)吸附法作为一种经济高效的方法,对废水中苯胺的处理具有良好效果〔6 -8 〕 .但吸附饱和的AC难于处置的问题,极大限制了AC在苯胺废水处理中的实际应用.直接丢弃饱和炭,不但是一种资源的浪费,还会对生态环境造成污染〔9 〕 ,所以,再生废弃AC具有重要的经济和环境效益.目前,AC的传统再生方法有热再生法、化学药剂再生法和生物再生法等.但传统再生方法存在能耗高、炭损耗高、炭孔隙堵塞和再生速率较低等问题〔9 -12 〕 .电化学再生作为一种新型再生方法,具有操作简便、再生效率高、炭损耗低等优点,目前已有大量研究〔13 -16 〕 ,但这些研究大部分聚焦于电化学装置的改进与再生效率的提高,对自制生物质吸附材料的再生处理以及再生过程中材料的微观结构变化研究较少〔14 ,17 〕 . ...
																												
																																									... 由图2 (d)可知,随着溶液pH的增加,MRAC再生率先增后减,在pH为5时达到峰值,此时MRAC再生率为97.32%.苯胺作为弱碱性离子化合物〔6 〕 ,pH会影响其在电化学再生过程中的脱附与氧化,研究表明,强酸性环境会中和一部分活性炭表面官能团,导致在强酸性条件下MRAC的再生率要远低于强碱性环境〔27 〕 ,此外,强酸性条件下,MRAC与苯胺的静电斥力也会降低,苯胺较难脱附,进一步降低了再生率〔14 〕 .碱性环境中,氢氧根离子的竞争吸附作用会促进苯胺的解吸〔14 〕 ,但随着碱性增强,苯胺的溶解度降低,同时抑制了以次氯酸为代表的氧化物的氧化作用,导致MRAC再生率略降〔26 〕 .因此,适宜的酸性有助于抑制电化学副反应的产生〔28 〕 ,且能够提升活性氯物质的氧化作用,有利于MRAC再生率的提高. ...
																																							 
																							 
																																		
																						
																																		
																						
																																		
																						
												山核桃壳活性炭制备及其吸附苯胺特性
												1
												2010
												
												
																								
																																								... 工业上处理苯胺废水常用的方法有吸附法、萃取法、Fenton氧化法和生物法等〔5 〕 .活性炭(AC)吸附法作为一种经济高效的方法,对废水中苯胺的处理具有良好效果〔6 -8 〕 .但吸附饱和的AC难于处置的问题,极大限制了AC在苯胺废水处理中的实际应用.直接丢弃饱和炭,不但是一种资源的浪费,还会对生态环境造成污染〔9 〕 ,所以,再生废弃AC具有重要的经济和环境效益.目前,AC的传统再生方法有热再生法、化学药剂再生法和生物再生法等.但传统再生方法存在能耗高、炭损耗高、炭孔隙堵塞和再生速率较低等问题〔9 -12 〕 .电化学再生作为一种新型再生方法,具有操作简便、再生效率高、炭损耗低等优点,目前已有大量研究〔13 -16 〕 ,但这些研究大部分聚焦于电化学装置的改进与再生效率的提高,对自制生物质吸附材料的再生处理以及再生过程中材料的微观结构变化研究较少〔14 ,17 〕 . ...
																																							 
																							 
																																		
																						
												山核桃壳活性炭制备及其吸附苯胺特性
												1
												2010
												
												
																								
																																								... 工业上处理苯胺废水常用的方法有吸附法、萃取法、Fenton氧化法和生物法等〔5 〕 .活性炭(AC)吸附法作为一种经济高效的方法,对废水中苯胺的处理具有良好效果〔6 -8 〕 .但吸附饱和的AC难于处置的问题,极大限制了AC在苯胺废水处理中的实际应用.直接丢弃饱和炭,不但是一种资源的浪费,还会对生态环境造成污染〔9 〕 ,所以,再生废弃AC具有重要的经济和环境效益.目前,AC的传统再生方法有热再生法、化学药剂再生法和生物再生法等.但传统再生方法存在能耗高、炭损耗高、炭孔隙堵塞和再生速率较低等问题〔9 -12 〕 .电化学再生作为一种新型再生方法,具有操作简便、再生效率高、炭损耗低等优点,目前已有大量研究〔13 -16 〕 ,但这些研究大部分聚焦于电化学装置的改进与再生效率的提高,对自制生物质吸附材料的再生处理以及再生过程中材料的微观结构变化研究较少〔14 ,17 〕 . ...
																																							 
																							 
																																		
																						
												活性炭的再生方法比较及其发展趋势研究
												2
												2016
												
												
																								
																																								... 工业上处理苯胺废水常用的方法有吸附法、萃取法、Fenton氧化法和生物法等〔5 〕 .活性炭(AC)吸附法作为一种经济高效的方法,对废水中苯胺的处理具有良好效果〔6 -8 〕 .但吸附饱和的AC难于处置的问题,极大限制了AC在苯胺废水处理中的实际应用.直接丢弃饱和炭,不但是一种资源的浪费,还会对生态环境造成污染〔9 〕 ,所以,再生废弃AC具有重要的经济和环境效益.目前,AC的传统再生方法有热再生法、化学药剂再生法和生物再生法等.但传统再生方法存在能耗高、炭损耗高、炭孔隙堵塞和再生速率较低等问题〔9 -12 〕 .电化学再生作为一种新型再生方法,具有操作简便、再生效率高、炭损耗低等优点,目前已有大量研究〔13 -16 〕 ,但这些研究大部分聚焦于电化学装置的改进与再生效率的提高,对自制生物质吸附材料的再生处理以及再生过程中材料的微观结构变化研究较少〔14 ,17 〕 . ...
																												
																																									... 〔9 -12 〕.电化学再生作为一种新型再生方法,具有操作简便、再生效率高、炭损耗低等优点,目前已有大量研究〔13 -16 〕 ,但这些研究大部分聚焦于电化学装置的改进与再生效率的提高,对自制生物质吸附材料的再生处理以及再生过程中材料的微观结构变化研究较少〔14 ,17 〕 . ...
																																							 
																							 
																																		
																						
												活性炭的再生方法比较及其发展趋势研究
												2
												2016
												
												
																								
																																								... 工业上处理苯胺废水常用的方法有吸附法、萃取法、Fenton氧化法和生物法等〔5 〕 .活性炭(AC)吸附法作为一种经济高效的方法,对废水中苯胺的处理具有良好效果〔6 -8 〕 .但吸附饱和的AC难于处置的问题,极大限制了AC在苯胺废水处理中的实际应用.直接丢弃饱和炭,不但是一种资源的浪费,还会对生态环境造成污染〔9 〕 ,所以,再生废弃AC具有重要的经济和环境效益.目前,AC的传统再生方法有热再生法、化学药剂再生法和生物再生法等.但传统再生方法存在能耗高、炭损耗高、炭孔隙堵塞和再生速率较低等问题〔9 -12 〕 .电化学再生作为一种新型再生方法,具有操作简便、再生效率高、炭损耗低等优点,目前已有大量研究〔13 -16 〕 ,但这些研究大部分聚焦于电化学装置的改进与再生效率的提高,对自制生物质吸附材料的再生处理以及再生过程中材料的微观结构变化研究较少〔14 ,17 〕 . ...
																												
																																									... 〔9 -12 〕.电化学再生作为一种新型再生方法,具有操作简便、再生效率高、炭损耗低等优点,目前已有大量研究〔13 -16 〕 ,但这些研究大部分聚焦于电化学装置的改进与再生效率的提高,对自制生物质吸附材料的再生处理以及再生过程中材料的微观结构变化研究较少〔14 ,17 〕 . ...
																																							 
																							 
																																		
																						
																																		
																						
																																		
																						
																																		
																						
																																		
																						
												活性炭去除游离氯的失效机制及热再生研究
												1
												2020
												
												
																								
																																								... 工业上处理苯胺废水常用的方法有吸附法、萃取法、Fenton氧化法和生物法等〔5 〕 .活性炭(AC)吸附法作为一种经济高效的方法,对废水中苯胺的处理具有良好效果〔6 -8 〕 .但吸附饱和的AC难于处置的问题,极大限制了AC在苯胺废水处理中的实际应用.直接丢弃饱和炭,不但是一种资源的浪费,还会对生态环境造成污染〔9 〕 ,所以,再生废弃AC具有重要的经济和环境效益.目前,AC的传统再生方法有热再生法、化学药剂再生法和生物再生法等.但传统再生方法存在能耗高、炭损耗高、炭孔隙堵塞和再生速率较低等问题〔9 -12 〕 .电化学再生作为一种新型再生方法,具有操作简便、再生效率高、炭损耗低等优点,目前已有大量研究〔13 -16 〕 ,但这些研究大部分聚焦于电化学装置的改进与再生效率的提高,对自制生物质吸附材料的再生处理以及再生过程中材料的微观结构变化研究较少〔14 ,17 〕 . ...
																																							 
																							 
																																		
																						
												活性炭去除游离氯的失效机制及热再生研究
												1
												2020
												
												
																								
																																								... 工业上处理苯胺废水常用的方法有吸附法、萃取法、Fenton氧化法和生物法等〔5 〕 .活性炭(AC)吸附法作为一种经济高效的方法,对废水中苯胺的处理具有良好效果〔6 -8 〕 .但吸附饱和的AC难于处置的问题,极大限制了AC在苯胺废水处理中的实际应用.直接丢弃饱和炭,不但是一种资源的浪费,还会对生态环境造成污染〔9 〕 ,所以,再生废弃AC具有重要的经济和环境效益.目前,AC的传统再生方法有热再生法、化学药剂再生法和生物再生法等.但传统再生方法存在能耗高、炭损耗高、炭孔隙堵塞和再生速率较低等问题〔9 -12 〕 .电化学再生作为一种新型再生方法,具有操作简便、再生效率高、炭损耗低等优点,目前已有大量研究〔13 -16 〕 ,但这些研究大部分聚焦于电化学装置的改进与再生效率的提高,对自制生物质吸附材料的再生处理以及再生过程中材料的微观结构变化研究较少〔14 ,17 〕 . ...
																																							 
																							 
																																		
																						
												吸附材料电化学再生的研究进展
												1
												2017
												
												
																								
																																								... 工业上处理苯胺废水常用的方法有吸附法、萃取法、Fenton氧化法和生物法等〔5 〕 .活性炭(AC)吸附法作为一种经济高效的方法,对废水中苯胺的处理具有良好效果〔6 -8 〕 .但吸附饱和的AC难于处置的问题,极大限制了AC在苯胺废水处理中的实际应用.直接丢弃饱和炭,不但是一种资源的浪费,还会对生态环境造成污染〔9 〕 ,所以,再生废弃AC具有重要的经济和环境效益.目前,AC的传统再生方法有热再生法、化学药剂再生法和生物再生法等.但传统再生方法存在能耗高、炭损耗高、炭孔隙堵塞和再生速率较低等问题〔9 -12 〕 .电化学再生作为一种新型再生方法,具有操作简便、再生效率高、炭损耗低等优点,目前已有大量研究〔13 -16 〕 ,但这些研究大部分聚焦于电化学装置的改进与再生效率的提高,对自制生物质吸附材料的再生处理以及再生过程中材料的微观结构变化研究较少〔14 ,17 〕 . ...
																																							 
																							 
																																		
																						
												吸附材料电化学再生的研究进展
												1
												2017
												
												
																								
																																								... 工业上处理苯胺废水常用的方法有吸附法、萃取法、Fenton氧化法和生物法等〔5 〕 .活性炭(AC)吸附法作为一种经济高效的方法,对废水中苯胺的处理具有良好效果〔6 -8 〕 .但吸附饱和的AC难于处置的问题,极大限制了AC在苯胺废水处理中的实际应用.直接丢弃饱和炭,不但是一种资源的浪费,还会对生态环境造成污染〔9 〕 ,所以,再生废弃AC具有重要的经济和环境效益.目前,AC的传统再生方法有热再生法、化学药剂再生法和生物再生法等.但传统再生方法存在能耗高、炭损耗高、炭孔隙堵塞和再生速率较低等问题〔9 -12 〕 .电化学再生作为一种新型再生方法,具有操作简便、再生效率高、炭损耗低等优点,目前已有大量研究〔13 -16 〕 ,但这些研究大部分聚焦于电化学装置的改进与再生效率的提高,对自制生物质吸附材料的再生处理以及再生过程中材料的微观结构变化研究较少〔14 ,17 〕 . ...
																																							 
																							 
																																												
												The electrochemical regeneration of granular activated carbons:A review
												4
												2018
												
												
																								
																																								... 工业上处理苯胺废水常用的方法有吸附法、萃取法、Fenton氧化法和生物法等〔5 〕 .活性炭(AC)吸附法作为一种经济高效的方法,对废水中苯胺的处理具有良好效果〔6 -8 〕 .但吸附饱和的AC难于处置的问题,极大限制了AC在苯胺废水处理中的实际应用.直接丢弃饱和炭,不但是一种资源的浪费,还会对生态环境造成污染〔9 〕 ,所以,再生废弃AC具有重要的经济和环境效益.目前,AC的传统再生方法有热再生法、化学药剂再生法和生物再生法等.但传统再生方法存在能耗高、炭损耗高、炭孔隙堵塞和再生速率较低等问题〔9 -12 〕 .电化学再生作为一种新型再生方法,具有操作简便、再生效率高、炭损耗低等优点,目前已有大量研究〔13 -16 〕 ,但这些研究大部分聚焦于电化学装置的改进与再生效率的提高,对自制生物质吸附材料的再生处理以及再生过程中材料的微观结构变化研究较少〔14 ,17 〕 . ...
																												
																																									... 由图2 (c)可知,当电解质NaCl质量浓度为15 g/L时,MRAC再生率达到峰值,之后趋于稳定.这是因为NaCl作为电解质,不仅为溶液提供导电性,还参与电化学反应.随着NaCl浓度升高,溶液中的导电离子增加,并且产生更多如ClO- 等的氧化物质,提高了氧化反应速率,使得MRAC再生率不断增大〔14 ,25 〕 .但当NaCl质量浓度大于15 g/L时,MRAC再生率趋于稳定,说明此时装置内氧化物质充足,NaCl浓度已经不是限制性因素〔26 〕 . ...
																												
																																									... 由图2 (d)可知,随着溶液pH的增加,MRAC再生率先增后减,在pH为5时达到峰值,此时MRAC再生率为97.32%.苯胺作为弱碱性离子化合物〔6 〕 ,pH会影响其在电化学再生过程中的脱附与氧化,研究表明,强酸性环境会中和一部分活性炭表面官能团,导致在强酸性条件下MRAC的再生率要远低于强碱性环境〔27 〕 ,此外,强酸性条件下,MRAC与苯胺的静电斥力也会降低,苯胺较难脱附,进一步降低了再生率〔14 〕 .碱性环境中,氢氧根离子的竞争吸附作用会促进苯胺的解吸〔14 〕 ,但随着碱性增强,苯胺的溶解度降低,同时抑制了以次氯酸为代表的氧化物的氧化作用,导致MRAC再生率略降〔26 〕 .因此,适宜的酸性有助于抑制电化学副反应的产生〔28 〕 ,且能够提升活性氯物质的氧化作用,有利于MRAC再生率的提高. ...
																												
																																									... 〔14 〕,但随着碱性增强,苯胺的溶解度降低,同时抑制了以次氯酸为代表的氧化物的氧化作用,导致MRAC再生率略降〔26 〕 .因此,适宜的酸性有助于抑制电化学副反应的产生〔28 〕 ,且能够提升活性氯物质的氧化作用,有利于MRAC再生率的提高. ...
																																							 
																							 
																																		
																						
																																		
																						
																																		
																						
												颗粒活性炭电化学再生技术研究与安全评价
												1
												2020
												
												
																								
																																								... 工业上处理苯胺废水常用的方法有吸附法、萃取法、Fenton氧化法和生物法等〔5 〕 .活性炭(AC)吸附法作为一种经济高效的方法,对废水中苯胺的处理具有良好效果〔6 -8 〕 .但吸附饱和的AC难于处置的问题,极大限制了AC在苯胺废水处理中的实际应用.直接丢弃饱和炭,不但是一种资源的浪费,还会对生态环境造成污染〔9 〕 ,所以,再生废弃AC具有重要的经济和环境效益.目前,AC的传统再生方法有热再生法、化学药剂再生法和生物再生法等.但传统再生方法存在能耗高、炭损耗高、炭孔隙堵塞和再生速率较低等问题〔9 -12 〕 .电化学再生作为一种新型再生方法,具有操作简便、再生效率高、炭损耗低等优点,目前已有大量研究〔13 -16 〕 ,但这些研究大部分聚焦于电化学装置的改进与再生效率的提高,对自制生物质吸附材料的再生处理以及再生过程中材料的微观结构变化研究较少〔14 ,17 〕 . ...
																																							 
																							 
																																		
																						
												颗粒活性炭电化学再生技术研究与安全评价
												1
												2020
												
												
																								
																																								... 工业上处理苯胺废水常用的方法有吸附法、萃取法、Fenton氧化法和生物法等〔5 〕 .活性炭(AC)吸附法作为一种经济高效的方法,对废水中苯胺的处理具有良好效果〔6 -8 〕 .但吸附饱和的AC难于处置的问题,极大限制了AC在苯胺废水处理中的实际应用.直接丢弃饱和炭,不但是一种资源的浪费,还会对生态环境造成污染〔9 〕 ,所以,再生废弃AC具有重要的经济和环境效益.目前,AC的传统再生方法有热再生法、化学药剂再生法和生物再生法等.但传统再生方法存在能耗高、炭损耗高、炭孔隙堵塞和再生速率较低等问题〔9 -12 〕 .电化学再生作为一种新型再生方法,具有操作简便、再生效率高、炭损耗低等优点,目前已有大量研究〔13 -16 〕 ,但这些研究大部分聚焦于电化学装置的改进与再生效率的提高,对自制生物质吸附材料的再生处理以及再生过程中材料的微观结构变化研究较少〔14 ,17 〕 . ...
																																							 
																							 
																																												
												Impact of the saturation level on the electrochemical regeneration of activated carbon in a single sequential reactor
												3
												2020
												
												
																								
																																								... 工业上处理苯胺废水常用的方法有吸附法、萃取法、Fenton氧化法和生物法等〔5 〕 .活性炭(AC)吸附法作为一种经济高效的方法,对废水中苯胺的处理具有良好效果〔6 -8 〕 .但吸附饱和的AC难于处置的问题,极大限制了AC在苯胺废水处理中的实际应用.直接丢弃饱和炭,不但是一种资源的浪费,还会对生态环境造成污染〔9 〕 ,所以,再生废弃AC具有重要的经济和环境效益.目前,AC的传统再生方法有热再生法、化学药剂再生法和生物再生法等.但传统再生方法存在能耗高、炭损耗高、炭孔隙堵塞和再生速率较低等问题〔9 -12 〕 .电化学再生作为一种新型再生方法,具有操作简便、再生效率高、炭损耗低等优点,目前已有大量研究〔13 -16 〕 ,但这些研究大部分聚焦于电化学装置的改进与再生效率的提高,对自制生物质吸附材料的再生处理以及再生过程中材料的微观结构变化研究较少〔14 ,17 〕 . ...
																												
																																									... 由表3 可知,饱和MRAC相较于原始MRAC比表面积和孔容降低,平均孔径增大,表明吸附过程中MRAC表面的孔洞结构在苯胺吸附中起关键作用〔17 〕 .再生后MRAC的比表面积、总孔容和平均孔径相较于原始MRAC均增大,可能由于吸附过程中的吸附作用、电化学再生过程中的氧化作用和苯胺的脱附作用对MRAC表面产生一定的磨损和孔蚀〔31 〕 .平均孔径的增大有利于减小吸附时的扩散阻力,通过低阻力的新传输途径增强扩散〔17 〕 使苯胺更容易被MRAC吸附至孔内.再生前后MRAC的表面结构参数变化进一步表明MRAC通过电化学再生后,物理吸附性能得到恢复〔26 〕 . ...
																												
																																									... 〔17 〕使苯胺更容易被MRAC吸附至孔内.再生前后MRAC的表面结构参数变化进一步表明MRAC通过电化学再生后,物理吸附性能得到恢复〔26 〕 . ...
																																							 
																							 
																																		
																						
												废菌渣活性炭对水中Cr(Ⅵ)的去除研究
												1
												2019
												
												
																								
																																								... 将废菌棒去皮、清洗、干燥后磨碎,过60目(0.250 mm)筛.取10 g废菌棒粉末与40 g质量分数为50%的ZnCl2 溶液混合,搅拌均匀后浸渍12 h.浸渍后的材料置于600 ℃马弗炉中活化2 h,冷却后用质量分数1%的稀盐酸清洗,再用蒸馏水洗至中性,放入80 ℃烘箱中干燥12 h.制成的样品磨碎过60目筛后,放入密封袋中保存〔18 〕 . ...
																																							 
																							 
																																		
																						
												废菌渣活性炭对水中Cr(Ⅵ)的去除研究
												1
												2019
												
												
																								
																																								... 将废菌棒去皮、清洗、干燥后磨碎,过60目(0.250 mm)筛.取10 g废菌棒粉末与40 g质量分数为50%的ZnCl2 溶液混合,搅拌均匀后浸渍12 h.浸渍后的材料置于600 ℃马弗炉中活化2 h,冷却后用质量分数1%的稀盐酸清洗,再用蒸馏水洗至中性,放入80 ℃烘箱中干燥12 h.制成的样品磨碎过60目筛后,放入密封袋中保存〔18 〕 . ...
																																							 
																							 
																																		
																						
												饱和粉末活性炭电化学再生研究
												2
												2020
												
												
																								
																																								... 由图2 (a)可知,增大电流,MRAC再生率得到明显提高.这是因为电流是电解反应的推动力,控制着电极表面氧化还原反应的速率,施加电流增强,电解液中电子传递速度会加快,从而增强电解反应,产生更多的氧化自由基,促进苯胺的氧化降解〔19 -20 〕 .但当电流大于200 mA之后,MRAC再生率增长减缓,这可能是因为反应中自由基与吸附质的结合达到上限,同时高电流可能会破坏MRAC的微孔结构和表面基团,导致其再生率增长减缓〔21 -22 〕 .此外,高电流还会造成电极钝化,加剧副反应发生〔23 〕 . ...
																												
																																									... 由图4 可知,吸附苯胺后的饱和MRAC在895 cm-1 处出现硝基中C—N的特征吸收峰,表明苯胺中氨基与MRAC表面基团反应产生了硝基;1 393 cm-1 处代表活性炭表面酰胺中C—N的吸收峰变小;在3 413 cm-1 处的吸收峰可能是活性炭表面羟基中缔合的—OH和酰胺N—H伸缩振动造成的〔19 〕 ,与原始MRAC对比,饱和MRAC的—OH和N—H吸收峰强度减弱,表明吸附过程中这些基团可能与苯胺形成了新的氢键,促进了苯胺的吸附. ...
																																							 
																							 
																																		
																						
												饱和粉末活性炭电化学再生研究
												2
												2020
												
												
																								
																																								... 由图2 (a)可知,增大电流,MRAC再生率得到明显提高.这是因为电流是电解反应的推动力,控制着电极表面氧化还原反应的速率,施加电流增强,电解液中电子传递速度会加快,从而增强电解反应,产生更多的氧化自由基,促进苯胺的氧化降解〔19 -20 〕 .但当电流大于200 mA之后,MRAC再生率增长减缓,这可能是因为反应中自由基与吸附质的结合达到上限,同时高电流可能会破坏MRAC的微孔结构和表面基团,导致其再生率增长减缓〔21 -22 〕 .此外,高电流还会造成电极钝化,加剧副反应发生〔23 〕 . ...
																												
																																									... 由图4 可知,吸附苯胺后的饱和MRAC在895 cm-1 处出现硝基中C—N的特征吸收峰,表明苯胺中氨基与MRAC表面基团反应产生了硝基;1 393 cm-1 处代表活性炭表面酰胺中C—N的吸收峰变小;在3 413 cm-1 处的吸收峰可能是活性炭表面羟基中缔合的—OH和酰胺N—H伸缩振动造成的〔19 〕 ,与原始MRAC对比,饱和MRAC的—OH和N—H吸收峰强度减弱,表明吸附过程中这些基团可能与苯胺形成了新的氢键,促进了苯胺的吸附. ...
																																							 
																							 
																																		
																						
												电化学法再生颗粒活性炭的研究
												1
												2007
												
												
																								
																																								... 由图2 (a)可知,增大电流,MRAC再生率得到明显提高.这是因为电流是电解反应的推动力,控制着电极表面氧化还原反应的速率,施加电流增强,电解液中电子传递速度会加快,从而增强电解反应,产生更多的氧化自由基,促进苯胺的氧化降解〔19 -20 〕 .但当电流大于200 mA之后,MRAC再生率增长减缓,这可能是因为反应中自由基与吸附质的结合达到上限,同时高电流可能会破坏MRAC的微孔结构和表面基团,导致其再生率增长减缓〔21 -22 〕 .此外,高电流还会造成电极钝化,加剧副反应发生〔23 〕 . ...
																																							 
																							 
																																		
																						
												电化学法再生颗粒活性炭的研究
												1
												2007
												
												
																								
																																								... 由图2 (a)可知,增大电流,MRAC再生率得到明显提高.这是因为电流是电解反应的推动力,控制着电极表面氧化还原反应的速率,施加电流增强,电解液中电子传递速度会加快,从而增强电解反应,产生更多的氧化自由基,促进苯胺的氧化降解〔19 -20 〕 .但当电流大于200 mA之后,MRAC再生率增长减缓,这可能是因为反应中自由基与吸附质的结合达到上限,同时高电流可能会破坏MRAC的微孔结构和表面基团,导致其再生率增长减缓〔21 -22 〕 .此外,高电流还会造成电极钝化,加剧副反应发生〔23 〕 . ...
																																							 
																							 
																																												
												Electrochemical regeneration of Cr(Ⅵ) saturated granular and powder activated carbon:Comparison of regeneration efficiency
												1
												2014
												
												
																								
																																								... 由图2 (a)可知,增大电流,MRAC再生率得到明显提高.这是因为电流是电解反应的推动力,控制着电极表面氧化还原反应的速率,施加电流增强,电解液中电子传递速度会加快,从而增强电解反应,产生更多的氧化自由基,促进苯胺的氧化降解〔19 -20 〕 .但当电流大于200 mA之后,MRAC再生率增长减缓,这可能是因为反应中自由基与吸附质的结合达到上限,同时高电流可能会破坏MRAC的微孔结构和表面基团,导致其再生率增长减缓〔21 -22 〕 .此外,高电流还会造成电极钝化,加剧副反应发生〔23 〕 . ...
																																							 
																							 
																																		
																						
												电化学原位再生活性炭的技术研究
												1
												2013
												
												
																								
																																								... 由图2 (a)可知,增大电流,MRAC再生率得到明显提高.这是因为电流是电解反应的推动力,控制着电极表面氧化还原反应的速率,施加电流增强,电解液中电子传递速度会加快,从而增强电解反应,产生更多的氧化自由基,促进苯胺的氧化降解〔19 -20 〕 .但当电流大于200 mA之后,MRAC再生率增长减缓,这可能是因为反应中自由基与吸附质的结合达到上限,同时高电流可能会破坏MRAC的微孔结构和表面基团,导致其再生率增长减缓〔21 -22 〕 .此外,高电流还会造成电极钝化,加剧副反应发生〔23 〕 . ...
																																							 
																							 
																																		
																						
												电化学原位再生活性炭的技术研究
												1
												2013
												
												
																								
																																								... 由图2 (a)可知,增大电流,MRAC再生率得到明显提高.这是因为电流是电解反应的推动力,控制着电极表面氧化还原反应的速率,施加电流增强,电解液中电子传递速度会加快,从而增强电解反应,产生更多的氧化自由基,促进苯胺的氧化降解〔19 -20 〕 .但当电流大于200 mA之后,MRAC再生率增长减缓,这可能是因为反应中自由基与吸附质的结合达到上限,同时高电流可能会破坏MRAC的微孔结构和表面基团,导致其再生率增长减缓〔21 -22 〕 .此外,高电流还会造成电极钝化,加剧副反应发生〔23 〕 . ...
																																							 
																							 
																																												
												Development of a recyclable remediation system for gaseous BTEX:Combination of iron oxides nanoparticles adsorbents and electrochemistry
												1
												2014
												
												
																								
																																								... 由图2 (a)可知,增大电流,MRAC再生率得到明显提高.这是因为电流是电解反应的推动力,控制着电极表面氧化还原反应的速率,施加电流增强,电解液中电子传递速度会加快,从而增强电解反应,产生更多的氧化自由基,促进苯胺的氧化降解〔19 -20 〕 .但当电流大于200 mA之后,MRAC再生率增长减缓,这可能是因为反应中自由基与吸附质的结合达到上限,同时高电流可能会破坏MRAC的微孔结构和表面基团,导致其再生率增长减缓〔21 -22 〕 .此外,高电流还会造成电极钝化,加剧副反应发生〔23 〕 . ...
																																							 
																							 
																																												
												Electrochemical regeneration of a reduced graphene oxide/magnetite composite adsorbent loaded with methylene blue
												1
												2017
												
												
																								
																																								... 由图2 (b)可知,MRAC再生率随着再生时间的延长而提高.这是由于再生时间延长,会提高氧化自由基的产量,推动污染物的氧化降解,提高再生率.但再生时间大于2 h后,MRAC再生率趋于稳定并略有下降,可能是反应产物在活性炭上堆积,堵塞微孔结构,降低了再生效果〔24 〕 . ...
																																							 
																							 
																																		
																						
												活性炭吸附-电化学再生法处理纳滤浓水的研究
												1
												2017
												
												
																								
																																								... 由图2 (c)可知,当电解质NaCl质量浓度为15 g/L时,MRAC再生率达到峰值,之后趋于稳定.这是因为NaCl作为电解质,不仅为溶液提供导电性,还参与电化学反应.随着NaCl浓度升高,溶液中的导电离子增加,并且产生更多如ClO- 等的氧化物质,提高了氧化反应速率,使得MRAC再生率不断增大〔14 ,25 〕 .但当NaCl质量浓度大于15 g/L时,MRAC再生率趋于稳定,说明此时装置内氧化物质充足,NaCl浓度已经不是限制性因素〔26 〕 . ...
																																							 
																							 
																																		
																						
												活性炭吸附-电化学再生法处理纳滤浓水的研究
												1
												2017
												
												
																								
																																								... 由图2 (c)可知,当电解质NaCl质量浓度为15 g/L时,MRAC再生率达到峰值,之后趋于稳定.这是因为NaCl作为电解质,不仅为溶液提供导电性,还参与电化学反应.随着NaCl浓度升高,溶液中的导电离子增加,并且产生更多如ClO- 等的氧化物质,提高了氧化反应速率,使得MRAC再生率不断增大〔14 ,25 〕 .但当NaCl质量浓度大于15 g/L时,MRAC再生率趋于稳定,说明此时装置内氧化物质充足,NaCl浓度已经不是限制性因素〔26 〕 . ...
																																							 
																							 
																																		
																						
												饱和吸附2,4-二硝基甲苯后活性炭的电化学再生
												3
												2019
												
												
																								
																																								... 由图2 (c)可知,当电解质NaCl质量浓度为15 g/L时,MRAC再生率达到峰值,之后趋于稳定.这是因为NaCl作为电解质,不仅为溶液提供导电性,还参与电化学反应.随着NaCl浓度升高,溶液中的导电离子增加,并且产生更多如ClO- 等的氧化物质,提高了氧化反应速率,使得MRAC再生率不断增大〔14 ,25 〕 .但当NaCl质量浓度大于15 g/L时,MRAC再生率趋于稳定,说明此时装置内氧化物质充足,NaCl浓度已经不是限制性因素〔26 〕 . ...
																												
																																									... 由图2 (d)可知,随着溶液pH的增加,MRAC再生率先增后减,在pH为5时达到峰值,此时MRAC再生率为97.32%.苯胺作为弱碱性离子化合物〔6 〕 ,pH会影响其在电化学再生过程中的脱附与氧化,研究表明,强酸性环境会中和一部分活性炭表面官能团,导致在强酸性条件下MRAC的再生率要远低于强碱性环境〔27 〕 ,此外,强酸性条件下,MRAC与苯胺的静电斥力也会降低,苯胺较难脱附,进一步降低了再生率〔14 〕 .碱性环境中,氢氧根离子的竞争吸附作用会促进苯胺的解吸〔14 〕 ,但随着碱性增强,苯胺的溶解度降低,同时抑制了以次氯酸为代表的氧化物的氧化作用,导致MRAC再生率略降〔26 〕 .因此,适宜的酸性有助于抑制电化学副反应的产生〔28 〕 ,且能够提升活性氯物质的氧化作用,有利于MRAC再生率的提高. ...
																												
																																									... 由表3 可知,饱和MRAC相较于原始MRAC比表面积和孔容降低,平均孔径增大,表明吸附过程中MRAC表面的孔洞结构在苯胺吸附中起关键作用〔17 〕 .再生后MRAC的比表面积、总孔容和平均孔径相较于原始MRAC均增大,可能由于吸附过程中的吸附作用、电化学再生过程中的氧化作用和苯胺的脱附作用对MRAC表面产生一定的磨损和孔蚀〔31 〕 .平均孔径的增大有利于减小吸附时的扩散阻力,通过低阻力的新传输途径增强扩散〔17 〕 使苯胺更容易被MRAC吸附至孔内.再生前后MRAC的表面结构参数变化进一步表明MRAC通过电化学再生后,物理吸附性能得到恢复〔26 〕 . ...
																																							 
																							 
																																		
																						
												饱和吸附2,4-二硝基甲苯后活性炭的电化学再生
												3
												2019
												
												
																								
																																								... 由图2 (c)可知,当电解质NaCl质量浓度为15 g/L时,MRAC再生率达到峰值,之后趋于稳定.这是因为NaCl作为电解质,不仅为溶液提供导电性,还参与电化学反应.随着NaCl浓度升高,溶液中的导电离子增加,并且产生更多如ClO- 等的氧化物质,提高了氧化反应速率,使得MRAC再生率不断增大〔14 ,25 〕 .但当NaCl质量浓度大于15 g/L时,MRAC再生率趋于稳定,说明此时装置内氧化物质充足,NaCl浓度已经不是限制性因素〔26 〕 . ...
																												
																																									... 由图2 (d)可知,随着溶液pH的增加,MRAC再生率先增后减,在pH为5时达到峰值,此时MRAC再生率为97.32%.苯胺作为弱碱性离子化合物〔6 〕 ,pH会影响其在电化学再生过程中的脱附与氧化,研究表明,强酸性环境会中和一部分活性炭表面官能团,导致在强酸性条件下MRAC的再生率要远低于强碱性环境〔27 〕 ,此外,强酸性条件下,MRAC与苯胺的静电斥力也会降低,苯胺较难脱附,进一步降低了再生率〔14 〕 .碱性环境中,氢氧根离子的竞争吸附作用会促进苯胺的解吸〔14 〕 ,但随着碱性增强,苯胺的溶解度降低,同时抑制了以次氯酸为代表的氧化物的氧化作用,导致MRAC再生率略降〔26 〕 .因此,适宜的酸性有助于抑制电化学副反应的产生〔28 〕 ,且能够提升活性氯物质的氧化作用,有利于MRAC再生率的提高. ...
																												
																																									... 由表3 可知,饱和MRAC相较于原始MRAC比表面积和孔容降低,平均孔径增大,表明吸附过程中MRAC表面的孔洞结构在苯胺吸附中起关键作用〔17 〕 .再生后MRAC的比表面积、总孔容和平均孔径相较于原始MRAC均增大,可能由于吸附过程中的吸附作用、电化学再生过程中的氧化作用和苯胺的脱附作用对MRAC表面产生一定的磨损和孔蚀〔31 〕 .平均孔径的增大有利于减小吸附时的扩散阻力,通过低阻力的新传输途径增强扩散〔17 〕 使苯胺更容易被MRAC吸附至孔内.再生前后MRAC的表面结构参数变化进一步表明MRAC通过电化学再生后,物理吸附性能得到恢复〔26 〕 . ...
																																							 
																							 
																																												
												Electrochemical regeneration of spent activated carbon from drinking water treatment plant at different scale reactors
												1
												2021
												
												
																								
																																								... 由图2 (d)可知,随着溶液pH的增加,MRAC再生率先增后减,在pH为5时达到峰值,此时MRAC再生率为97.32%.苯胺作为弱碱性离子化合物〔6 〕 ,pH会影响其在电化学再生过程中的脱附与氧化,研究表明,强酸性环境会中和一部分活性炭表面官能团,导致在强酸性条件下MRAC的再生率要远低于强碱性环境〔27 〕 ,此外,强酸性条件下,MRAC与苯胺的静电斥力也会降低,苯胺较难脱附,进一步降低了再生率〔14 〕 .碱性环境中,氢氧根离子的竞争吸附作用会促进苯胺的解吸〔14 〕 ,但随着碱性增强,苯胺的溶解度降低,同时抑制了以次氯酸为代表的氧化物的氧化作用,导致MRAC再生率略降〔26 〕 .因此,适宜的酸性有助于抑制电化学副反应的产生〔28 〕 ,且能够提升活性氯物质的氧化作用,有利于MRAC再生率的提高. ...
																																							 
																							 
																																		
																						
												含油废水吸附饱和活性炭纤维的电化学再生
												2
												2013
												
												
																								
																																								... 由图2 (d)可知,随着溶液pH的增加,MRAC再生率先增后减,在pH为5时达到峰值,此时MRAC再生率为97.32%.苯胺作为弱碱性离子化合物〔6 〕 ,pH会影响其在电化学再生过程中的脱附与氧化,研究表明,强酸性环境会中和一部分活性炭表面官能团,导致在强酸性条件下MRAC的再生率要远低于强碱性环境〔27 〕 ,此外,强酸性条件下,MRAC与苯胺的静电斥力也会降低,苯胺较难脱附,进一步降低了再生率〔14 〕 .碱性环境中,氢氧根离子的竞争吸附作用会促进苯胺的解吸〔14 〕 ,但随着碱性增强,苯胺的溶解度降低,同时抑制了以次氯酸为代表的氧化物的氧化作用,导致MRAC再生率略降〔26 〕 .因此,适宜的酸性有助于抑制电化学副反应的产生〔28 〕 ,且能够提升活性氯物质的氧化作用,有利于MRAC再生率的提高. ...
																												
																																									... 从图3 可以看出,经历6次吸附-再生循环后,MRAC的再生率仍可达87.53%,吸附能力没有明显降低,说明电化学再生效果比较稳定〔28 〕 ,MRAC可以多次重复使用. ...
																																							 
																							 
																																		
																						
												含油废水吸附饱和活性炭纤维的电化学再生
												2
												2013
												
												
																								
																																								... 由图2 (d)可知,随着溶液pH的增加,MRAC再生率先增后减,在pH为5时达到峰值,此时MRAC再生率为97.32%.苯胺作为弱碱性离子化合物〔6 〕 ,pH会影响其在电化学再生过程中的脱附与氧化,研究表明,强酸性环境会中和一部分活性炭表面官能团,导致在强酸性条件下MRAC的再生率要远低于强碱性环境〔27 〕 ,此外,强酸性条件下,MRAC与苯胺的静电斥力也会降低,苯胺较难脱附,进一步降低了再生率〔14 〕 .碱性环境中,氢氧根离子的竞争吸附作用会促进苯胺的解吸〔14 〕 ,但随着碱性增强,苯胺的溶解度降低,同时抑制了以次氯酸为代表的氧化物的氧化作用,导致MRAC再生率略降〔26 〕 .因此,适宜的酸性有助于抑制电化学副反应的产生〔28 〕 ,且能够提升活性氯物质的氧化作用,有利于MRAC再生率的提高. ...
																												
																																									... 从图3 可以看出,经历6次吸附-再生循环后,MRAC的再生率仍可达87.53%,吸附能力没有明显降低,说明电化学再生效果比较稳定〔28 〕 ,MRAC可以多次重复使用. ...
																																							 
																							 
																																		
																						
												基于正交实验的换热器循环水电化学除垢系统优化
												1
												2020
												
												
																								
																																								... 方差分析可通过将总离差平方和分解为各因素的离差平方和与误差离差平方和,构造F 统计量,对各因素的显著性进行检验〔29 〕 .表2 实验结果的方差分析显示,电流、电解质质量浓度和电解时间对于再生率有显著影响(0.01<P <0.05).根据表1 各因素的K 值分析可得最优再生条件为A 4 B 2 C 2 D 2 ,该条件下进行再生,MRAC的再生率为98.43%. ...
																																							 
																							 
																																		
																						
												基于正交实验的换热器循环水电化学除垢系统优化
												1
												2020
												
												
																								
																																								... 方差分析可通过将总离差平方和分解为各因素的离差平方和与误差离差平方和,构造F 统计量,对各因素的显著性进行检验〔29 〕 .表2 实验结果的方差分析显示,电流、电解质质量浓度和电解时间对于再生率有显著影响(0.01<P <0.05).根据表1 各因素的K 值分析可得最优再生条件为A 4 B 2 C 2 D 2 ,该条件下进行再生,MRAC的再生率为98.43%. ...
																																							 
																							 
																																												
												Anodic electrochemical regeneration of a graphene/titanium dioxide composite adsorbent loaded with an organic dye
												1
												2020
												
												
																								
																																								... 再生MRAC的吸收峰与原始MRAC的吸收峰基本吻合,3 442 cm-1 处的—OH和N—H峰强度恢复,1 066 cm-1 处的对应着伯醇中C—O的特征峰出现,表明再生后MRAC表面以羟基为代表的表面基团和对吸附起重要作用的氢键数量增加〔30 〕 ,形成更多的吸附位点〔31 〕 ,吸附能力得到恢复. ...
																																							 
																							 
																																												
												Electrolytic regeneration of granular activated carbon saturated with diclofenac using BDD anodes
												2
												2019
												
												
																								
																																								... 再生MRAC的吸收峰与原始MRAC的吸收峰基本吻合,3 442 cm-1 处的—OH和N—H峰强度恢复,1 066 cm-1 处的对应着伯醇中C—O的特征峰出现,表明再生后MRAC表面以羟基为代表的表面基团和对吸附起重要作用的氢键数量增加〔30 〕 ,形成更多的吸附位点〔31 〕 ,吸附能力得到恢复. ...
																												
																																									... 由表3 可知,饱和MRAC相较于原始MRAC比表面积和孔容降低,平均孔径增大,表明吸附过程中MRAC表面的孔洞结构在苯胺吸附中起关键作用〔17 〕 .再生后MRAC的比表面积、总孔容和平均孔径相较于原始MRAC均增大,可能由于吸附过程中的吸附作用、电化学再生过程中的氧化作用和苯胺的脱附作用对MRAC表面产生一定的磨损和孔蚀〔31 〕 .平均孔径的增大有利于减小吸附时的扩散阻力,通过低阻力的新传输途径增强扩散〔17 〕 使苯胺更容易被MRAC吸附至孔内.再生前后MRAC的表面结构参数变化进一步表明MRAC通过电化学再生后,物理吸附性能得到恢复〔26 〕 . ...
																																							 
																							 
																																												
												“Self-cleaning” electrochemical regeneration of dye-loaded activated carbon
												1
												2019
												
												
																								
																																								... 由图6 可知,原始MRAC中孔径结构以微孔为主,含少量介孔,其中微孔主要集中在0.4~0.5 nm之间,介孔主要集中在4 nm附近的区域.吸附苯胺后,MRAC中0.4~0.6 nm的微孔数量减少,4 nm的介孔大幅度降低,表明这些区域的孔径结构在吸附过程中起主要作用.再生后MRAC的微孔和中孔数量得到了恢复,说明电化学处理对孔分布尺寸有影响,可以改善活性炭的孔隙结构与整体传质能力〔32 〕 ,使活性炭恢复吸附能力. ...