表面改性剂对溶气气浮微气泡特性影响研究
Influence of surface modifier on the characteristics of microbubbles in dissolved air flotation
Received: 2021-03-9
The effects of three surface modifier CTAB, chitosan and PDADMAC on the characteristics of microbubbles in dissolved air flotation were studied. The results showed that the decrease of the average diameter of microbubbles was mainly due to the large increase of the number of small size microbubbles. The change of CTAB concentration could significantly influence the diameter and coalescence probability of microbubbles, slightly affected the rising speed of microbubbles. The addition of cationic polymer could increase the coalescence phenomenon between microbubbles, slightly affect the diameter and rising speed of microbubbles. Among three modifiers, CTAB had the largest adhesion efficiency on the surface of microbubbles, while PDADMAC was the smallest. The charge amount of different modifiers and their adsorption efficiency on the surface of microbubbles were quite different.
Keywords:
本文引用格式
秦尧, 丁路明, 田立平, 刘威, 刘汝鹏, 王永磊.
Qin Yao.
水体中的微纳气泡、颗粒物及各类藻细胞表面呈负电性〔1〕,微气泡表面改性气浮(Posi-DAF)技术通过向溶气气浮系统中加入正电荷改性剂、聚合物改性剂,可改变微气泡特性,使微气泡表面呈正电,从而克服与颗粒物、藻细胞间的静电斥力,增大碰撞黏附效率〔2〕。该技术可减少对絮凝的依赖,显著提高藻去除率,减少药剂用量和污泥量,从而节约水厂运行成本〔3〕。许多学者对该技术的机理、效果、影响因素等进行了大量研究。H. N. R. Rao等〔4〕用聚合物PDADMAC-BCF和PDMAEMA-C10对微气泡进行改性,出水Zeta电位具有较低水平,且总有机碳去除率达到30%,表明聚合物经疏水化作用后可与微气泡表面紧密结合。T. I. Kim等〔5〕用带正电荷的气泡去除天然水体中的藻类,结果表明,不经混凝预处理的情况下该工艺对藻细胞的去除率可达90%。时玉龙等〔6〕在溶气系统中投加壳聚糖实现微气泡表面正电荷改性,当循环水pH为5.5时,与壳聚糖双混凝剂气浮相比,壳聚糖改性气浮对低温、低浊淮河原水中污染物的去除效果更好。
1 材料与方法
1.1 仪器与试剂
仪器:FE28 pH分析仪,美国HACH公司;Millipore去离子水制水机,美国密理博公司;分析天平,Mettle Toledo;YZ1515x蠕动泵,保定兰格恒流泵有限公司;KQ5200E超声清洗器,昆山市超声仪器有限公司。
试剂:盐酸、氢氧化钠、冰乙酸,分析纯,上海国药集团;十六烷基三甲基溴化铵(CTAB),优级纯,上海阿拉丁试剂有限公司;壳聚糖(CTS),质量分数99%,麦克林试剂有限公司;聚二甲基二烯丙基氯化铵(PDADMAC),质量分数35%,上海阿拉丁试剂有限公司。
1.2 试验装置
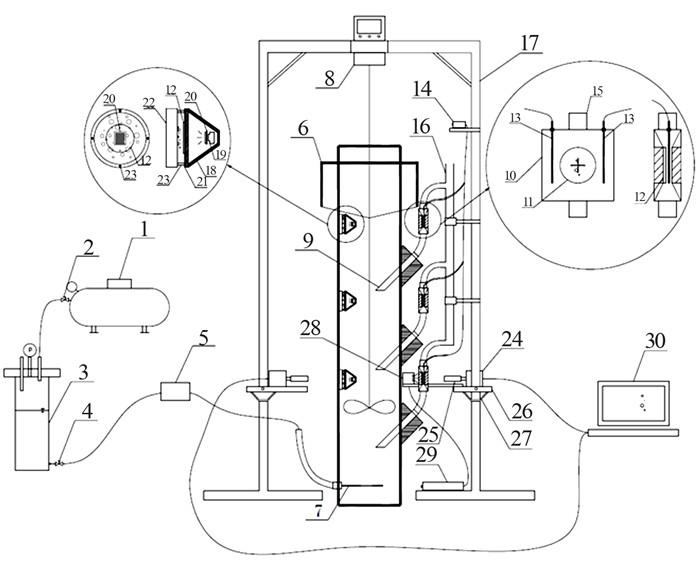
自主设计的微气泡特性原位测量装置主要基于图像分析法,如图 1所示。
图1
图1
微气泡特性原位测量试验装置
1—气泵;2—进气阀;3—溶气罐;4—出水阀;5—气浮控制器;6—柱状气浮池;7—释气针;8—程控式搅拌器;9—取液管;10—微电泳池;11—高透玻璃窗;12—目镜测微尺;13—电极;14—电泳电源控制器;15—出水管;16—连通管;17—支架;18—灯箱;19—电池;20—LED灯板;21—磨砂玻璃;22—高透玻璃;23—固定螺栓;24—动态相机;25—微距镜头;26—相机云台;27—相机支架;28—LED平行光束灯;29—LED功率调节器;30—计算机。
该装置由溶气气浮系统、微观观测系统和图像分析系统组成。其中气泵、溶气罐及柱状气浮池等组成溶气气浮系统;界面Zeta电位微电泳池和微气泡原位观测窗组成微观观测系统;图像分析系统由微距镜头、SpeedCam MacroVis EoSens高速动态相机(德国HSVISION公司)、计算机及图像分析软件(Motion BLITZ Director 2、Image-Pro Preimier 9.2)组成。
1.3 试验方法
取去离子水加入溶气罐及气浮柱中,并在溶气罐内加入一定量的微气泡表面改性剂。随后移动高速动态相机至原位观测窗或微电泳池,打开相机和LED平行光束灯,调节灯光亮度及相机焦距,拍摄若干张目镜测微尺图像作为标定图片。开启空压机进行溶气,待溶气压力达到设定值后关闭空压机。设置气浮控制器的释放时间等参数,在气浮池中进行微气泡的释放。当观测窗或微电泳池有大量微气泡经过时,用高速动态相机进行拍摄。为保证试验过程拍摄的图像清晰可靠,重复上述步骤多次拍摄,且每个工况测量的微气泡数量不少于1 000个。
1.4 分析方法
采用Image-Pro Premier 9.2图像分析软件分析表面改性剂对溶气气浮微气泡特性(气泡尺寸、上升速度、界面Zeta电位)的影响。
上述3个特性指标均用图像分析法进行测量。测量微气泡尺寸时,不同试验条件下的高帧率视频通过原位观察窗获取;测量微气泡上升速度时,通过微电泳池的观测窗获取高帧率视频;当电场存在且微气泡能够稳定上升时,界面Zeta电位才能得以检测,因此测量微气泡表面Zeta电位时的高帧率视频由微电泳测量池的观测窗获取。获取高帧率试验视频后,根据微气泡的最小上升速度对视频分帧进行处理挑选,从而降低数据重复性。
在电场力作用下,微气泡的横向迁移速率由Image-Pro Premier 9.2图像分析软件计算得出,微气泡的界面Zeta电位可通过Smulochowski方程〔9〕求得〔见式(1)〕。

式中:μ——电解质体系的动态黏度,Pa·s;
ve——气泡的电泳速度,由分析软件得出,m/s;
εr——液体的相对介电常数;
ε0——真空的介电常数;
E——施加的电场强度,V/m。
每次施加的电场强度E由式(2)确定。

式中:i——电流,A;
K——电解质电导率,S/m;
A——电泳池的横截面积,m2。
2 结果与讨论
2.1 溶气气浮微气泡尺寸的影响因素
2.1.1 溶气压力对微气泡尺寸的影响
微气泡的尺寸分布在溶气气浮过程中受诸多因素影响,如回流比、溶气压力以及释放器类型等。当溶气气浮设备固定时,对微气泡尺寸分布影响最显著的因素为溶气压力。未投加表面改性剂时,进行不同溶气压力(0.3~0.6 MPa)对微气泡尺寸分布影响的试验,结果如图 2所示。
图2
由图 2(a)可见,当溶气压力由0.3 MPa增至0.4 MPa时,微气泡的最高频率直径变化不大,均为45 μm左右,频率最高点由10%增至11.5%;0.4 MPa时气泡尺寸分布更加集中,且直径为30~60 μm的微气泡出现频率明显升高,而直径>60 μm的微气泡出现频率小幅下降。与0.3、0.4 MPa相比,0.5 MPa下微气泡的最高频率直径明显减小,至35 μm左右,频率最高点增大至13%;与0.4 MPa时相比,微气泡的尺寸分布更加集中,且直径在45 μm以上的微气泡出现频率明显降低,直径在45 μm以下的微气泡出现频率明显升高。与0.5 MPa的数据相比,溶气压力为0.6 MPa时各项数据未发生明显变化。
观察高速动态相机拍摄的照片可发现,当溶气压力由0.3 MPa逐渐增至0.6 MPa时,微气泡直径不断减小,且50 μm以下的微气泡数量显著增多。
综上,考虑到溶气压力由0.5 MPa增至0.6 MPa时微气泡直径并未发生显著变化,以及成本因素,选定0.5 MPa为最优溶气压力。
2.1.2 CTAB质量浓度对微气泡尺寸的影响
控制溶气水中阳离子型表面活性剂CTAB的质量浓度分别为0~5、10、20、30 mg/L,考察不同溶气压力下CTAB质量浓度对微气泡尺寸的影响。考虑到溶气压力对微气泡尺寸影响较大,在溶气压力为0.3~0.6 MPa范围内进行试验。为避免温度变化对液体黏度产生影响,试验均在20 ℃下进行,结果如图 3所示。
图3
从图 3可见,当CTAB质量浓度增至10 mg/L时,4种溶气压力下微气泡平均直径均逐渐减小,CTAB质量浓度<5 mg/L时降幅最大;当CTAB由10 mg/L增至30 mg/L时,微气泡平均直径变化不明显。随着CTAB质量浓度的增大,其作用方式发生变化,在溶液内部相互吸附、自聚,进而形成胶束并在水中保持稳定,对液体的表面张力以及微气泡的聚并作用几乎不再产生影响,微气泡的平均直径维持在一定水平,不再发生显著变化。此结论与李儒存〔11〕的研究结论相似。此外,微气泡平均直径的减小幅度在不同溶气压力下也有所差异,并随溶气压力的增大而逐渐减小。溶气压力为0.3 MPa时微气泡平均直径的降幅最大,为17.46%,0.4 MPa时降幅为15.52%,0.5 MPa时降幅为14.29%,而0.6 MPa时降幅最小,仅为12.73%。
溶气压力为0.5 MPa时,用高速动态相机拍摄不同CTAB质量浓度下微气泡的显微照片,发现在CTAB质量浓度增加的过程中微气泡平均直径有减小趋势,且直径在50 μm以下的微气泡数量明显增多,同时微气泡间的并聚黏附现象也随着CTAB质量浓度的增加而逐渐减少。表明表面活性剂CTAB可使液体的表面张力降低,抑制气泡之间的兼并,同时可降低微气泡间的液膜厚度,使微气泡破碎概率增大,进而增加小尺寸微气泡的数量。
2.1.3 阳离子聚合物浓度对微气泡尺寸的影响
为探究阳离子聚合物浓度对微气泡尺寸的影响,在20 ℃、溶气压力为0.3~0.6 MPa范围内,向溶气水中添加PDADMAC或CTS并使其质量浓度为0~3 mg/L,试验结果如图 4所示。
图4
溶气压力为0.5 MPa时,用高速动态相机拍摄不同PDADMAC质量浓度下微气泡的显微照片。发现PDADMAC质量浓度不同时,微气泡直径的变化并不十分明显,但微气泡间的并聚黏附现象显著增加。这可能是由于微气泡表面附着的聚合物起到架桥作用,增加了微气泡间相互接触捕捉的概率;此外,微气泡表面正电荷改性不完全,在静电引力作用下带相反电荷的微气泡相互并聚也是可能原因之一。
2.2 表面改性剂对微气泡上升速度的影响
2.2.1 微气泡上升速度理论值
溶气系统中,微气泡上升速度较小可使微气泡与颗粒物的接触时间延长,二者得到充分黏附,从而提升气浮效率。微气泡的上升速度与其表面性质及溶液黏度有重要关系,而表面改性剂能对2个指标产生影响。
本试验的溶气系统中,微气泡所处液体环境保持相对稳定,雷诺数Re接近于零。在黏性液体中,当Re=0时,可用斯托克斯定律(Stokes’ law)和Hadmard-Rybczynski方程(H-R方程)对单个球形气泡上升速度的理论值进行分析计算〔13〕。微气泡稳定表面的上升速度可用斯托克斯定律描述,见式(3)。

式中:r—颗粒半径,m;
g—重力加速度,m/s2;
Δρ—密度差,kg/m3;
μ—水的动力黏度系数,Pa·s。
切向应力在气泡界面存在滑移的情况下,会导致球体内涡旋的出现,造成能量在连续相和分散介质中不断耗散。当边界条件无法保持固定状态时,求解Navier-Stokes方程时需要考虑液体的内部黏度,因此H-R方程描述的气泡最终速度如式(4)所示。

2.2.2 CTAB质量浓度对微气泡上升速度的影响
控制温度为20 ℃,溶气压力为0.5 MPa,向溶气水中添加0、1、3 mg/L的CTAB,对比微气泡上升速度与理论值的差异,考察溶气系统中微气泡上升速度受CTAB质量浓度的影响情况,结果见图 5。
图5
由图 5可知,CTAB为零时,随着微气泡直径的增大,其上升速度也逐渐加快,该趋势与H-R方程得到的理论预测值基本相符,且对70 μm以下的微气泡该趋势十分显著,表明对于去离子水中的微气泡,其表面完全能够滑动。相同直径微气泡的上升速度随着溶气水中CTAB质量浓度的增加而逐渐降低,且微气泡直径越大,该现象越显著。CTAB为3 mg/L时微气泡上升速度的趋势与Navier-Stokes方程得到的理论预测值更接近。
表面活性剂能减少微气泡内的气相循环和边界滑动,因此其对微气泡的上升速度有一定减缓作用。将表面活性剂加入到溶气水后,气-水界面会极快速吸附表面活性分子。微气泡在液体中上浮时,表面活性分子受流体动力的剪切会移向微气泡的末端,液体沿气液界面移动的趋势会受到因此产生的Marangoni表面张力梯度的阻碍。微气泡受此影响,其上升速度会减缓,此现象亦被称为Marangoni效应〔14〕。
2.2.3 阳离子聚合物浓度对微气泡上升速度的影响
在温度为20 ℃、溶气压力为0.5 MPa、Re=0的试验条件下,分别取阳离子聚合物CTS和PDADMAC加入到溶气水中,考察其浓度变化对微气泡上升速度的影响,结果如图 6所示。
图6
从图 6可见,CTS改性后微气泡的上升速度随微气泡尺寸的增加逐渐升高,但低于未改性微气泡的上升速度及H-R方程得到的理论预测值,且该现象随CTS质量浓度的升高越来越显著。与未改性微气泡相比,PDADMAC改性微气泡的上升速度差别较小,随着PDADMAC质量浓度的升高未发生显著变化。J. J. Quinn等〔15〕发现气泡的上升速度随着无机盐浓度的增加而不断降低,其形状也逐渐接近球形,且气泡形状的变化与其上升速度有关,与溶质类型无关。因此,试验结果表明溶气水中有较多CTS分子处于游离状态,且CTS使用液中含有的冰乙酸使溶气水中的离子浓度升高,溶气水黏度受二者共同作用而增大,微气泡的上升速度因此受到微弱影响。
2.3 表面改性剂对微气泡表面Zeta电位的影响
在溶气压力为0.5 MPa、电场强度为40 V/m、pH为7、20 ℃条件下,向溶气水中分别添加3 mg/L的CTAB、PDADMAC、CTS,用微电泳装置测定微气泡表面Zeta电位,考察不同表面改性剂对微气泡表面Zeta电位的影响。为降低微气泡大小差异对试验结果的影响,只选取20~80 μm即位于主要粒径分布区间的微气泡进行测定,结果见表 1。
表1 不同改性剂对微气泡平均Zeta电位的影响
| 项目 | 无改性剂 | CTAB改性 | PDADMAC改性 | CTS改性 |
| 微气泡平均Zeta电位/mV | -48~-31 | 40±5 | 38±9 | 20±10 |
| 改性剂电荷密度/(meq·g-1) | — | 2.6~3.3 | 5.7~6.3 | 1.3~1.7 |
CTAB具有两亲性结构,可增强在微气泡表面的附着效率和能力,另外2种表面改性剂在微气泡表面的附着能力也可据此参考。在3种改性剂中,PDADMAC的电荷密度远高于其余2种改性剂,而PDADMAC与CTS改性微气泡表面Zeta电位的差距不如电荷密度的差距显著,且PDADMAC改性微气泡表面Zeta电位略低于CTAB改性微气泡表面Zeta电位,表明PDADMAC在微气泡表面的附着效果较差,未能有效附着于微气泡表面,影响后续的水处理环节。pH为7时CTS的电荷密度较小,是由于其游离氨基的质子化水平受pH的影响。对比CTAB与CTS的电荷密度和改性微气泡表Zeta电位可以发现,二者在微气泡表面均有较高的附着效率,但CTS改性微气泡表面Zeta电位波动较大,表明其在微气泡表面的附着效率和能力要略低于CTAB。R. K. L. Yap等〔17〕研究表明,分子质量越低的聚合物改性的微气泡,其表面正电位越大。试验结果表明,微气泡表面正电位的大小既与表面改性剂的分子质量有关,还与表面改性剂分子的基团类型有关。
3 结论
(1)随着溶气压力的增加,微气泡尺寸逐渐减小,小尺寸微气泡数量大幅增加是微气泡平均直径减小的主要原因。溶气压力由0.5 MPa增至0.6 MPa时微气泡尺寸变化较小,选择最优溶气压力为0.5 MPa。
(2)随着CTAB的增加,微气泡平均直径逐渐减小,微气泡的并聚黏附减少;CTAB增至10 mg/L以上时微气泡平均直径变化不再明显,说明CTAB增加可使液体表面张力降低,并抑制气泡间的兼并,同时增加小尺寸微气泡数量。CTS和PDADMAC对微气泡平均直径无显著影响,但明显增强了微气泡间的并聚黏附,主要由于表面改性剂的疏水作用和静电作用。
(3)CTAB能通过Marangoni效应略微减缓微气泡的上升速度,使其略低于H-R方程的理论预测值。而CTS和PDADMAC对溶气水中离子浓度的影响较弱,无法对微气泡的上升速度产生显著影响。
(4)未经过表面改性剂改性的微气泡表面呈负电,经改性后微气泡表面Zeta电位从大到小依次为CTAB>PDADMAC>CTS;3种改性剂的电荷密度由大到小为PDADMAC>CTAB>CTS。在微气泡表面附着效率最高的表面改性剂为CTAB,附着效率最低的为PDADMAC,3种改性剂在微气泡表面的吸附效率与其电荷量相比差异较大。
参考文献
Removal of microalgae from seawater using chitosan-alum/ferric chloride dual coagulations
[J].DOI:10.1016/j.desal.2018.01.012 [本文引用: 1]
The potential for using bubble modification chemicals in dissolved air flotation for algae removal
[J].
Polymers as bubble surface modifiers in the flotation of algae
[J].DOI:10.1080/09593331003663302 [本文引用: 1]
The role of algal organic matter in the separation of algae and cyanobacteria using the novel "Posi" -dissolved air flotation process
[J].DOI:10.1016/j.watres.2017.11.049 [本文引用: 1]
Development of algae removal method based on positively charged bubbles
[J].DOI:10.1007/s12205-017-0025-z [本文引用: 1]
Measurement of the zeta potential of gas bubbles in aqueous solutions by microelectrophoresis method
[J].
Trajectory analysis and collision efficiency during microbubble flotation
[J].
The terminal rise velocity of 10-100 μm diameter bubbles in water
[J].
Particle-bubble collision models: a review
[J].
Experimental study on the shape-velocity relationship of an ellipsoidal bubble in inorganic salt solutions
[J].DOI:10.1016/j.mineng.2013.09.003 [本文引用: 1]
Generation of a positively charged bubble and its possible mechanism of formation
[J].
Hydrophobically-associating cationic polymers as micro-bubble surface modifiers in dissolved air flotation for cyanobacteria cell separation
[J].DOI:10.1016/j.watres.2014.05.032 [本文引用: 1]
/
| 〈 |
|
〉 |



津公网安备 12010602120337号