铁碳-Fenton法强化预处理邻硝基对甲苯酚废水
Enhanced pretreatment of 2-nitro-paracresol wastewater by Fe/C-Fenton process
收稿日期: 2021-04-21
Received: 2021-04-21
作者简介 About authors
李永连(1987-),硕士电话:15216762061,E-mail:
Fe/C-Fenton process was used to the wastewater pretreatment from 2-nitro-paracresol production. The optimum technological parameters were determined through experiment and engineering demonstration. The results show that the optimum parameters of Fe/C process were as follows: pH 2.5, HRT 4 h, and air-water ratio 4:1. The optimum parameters of Fenton process were: pH 3~3.5, H2O2 dosage 36.36 g/L, Fe2+ dosage 1.6 g/L. The total removal rate of COD was 52% and B/C was increased from 0.11 to 0.32 after Fe/C-Fenton synergistic treatment. It was verified by GC-MS that the concentration of organic pollutants such as 2-nitro-paracresol decreased after Fe/C-Fenton treatment. And the hard-degraded substance was transformed into the biodegradable substance.
Keywords:
本文引用格式
李永连.
Li Yonglian.
邻硝基对甲苯酚生产废水成分复杂,在水体、土壤、空气中均有污染因子产生,环境污染性极大,水质呈强酸性,在夏季气温升高或投加碱性物质时,有机物种类会随之发生变化。目前,对于高浓度、难降解有机废水预处理工艺,国内、外仍以高级氧化技术为主导,强化COD去除,提高生化系统的可生化性〔1〕。
张楠等〔2〕采用铁碳微电解法预处理硝基苯废水,探讨了pH、Fe/C剂量比、停留时间、曝气气水比等影响因素;李树鹏等〔3〕采用大孔树脂吸附法预处理硝基苯类废水,探讨了吸附温度、流速、pH等影响因子;朱秀华等〔4〕采用Fenton氧化法预处理硝基苯、苯酚废水,探讨了pH、HRT、n(H2O2)∶n(Fe2+)等影响条件。但对于邻硝基对甲苯酚生产废水,目前涉及的相关研究还较少。鉴于此,笔者在结合先前研究的基础上,采用铁碳微电解与Fenton氧化协同作用强化预处理邻硝基对甲苯酚生产废水。本研究的重点在于两者协同耦合,在还原、氧化作用下,集合最优化的工艺参数,实现处置合理化、减量化,大大减轻企业的生产压力,切实做到环保可行。
1 材料与方法
1.1 废水来源
江西省景德镇市某化工厂生产染料中间体甲氧基-克利西丁磺酸,目前仅保留硝化工序生产线,用于生产中间体邻硝基对甲苯酚。具体生产工序为:在硝化釜中按顺序投入计量的水、稀硝酸(废硝酸,含少量NH4+),开启搅拌,滴加对甲苯酚,滴毕,保温反应3 h,停止搅拌静置分层,放出粗品邻硝基对甲酚,然后放废水到废水槽。废水主要来自于邻硝基对甲苯酚生产过程中,少量来自于废气处理喷淋系统,废水中含有对甲苯酚、邻硝基对甲苯酚及其衍生物、氨氮、硝酸根等。
1.2 水质指标
废水呈强酸性,水中COD、BOD5、NH3-N、盐分等指标均较高,具体水质情况见表 1。
表1 生产废水水质
| 项目 | 水量/(t·d-1) | pH | COD/(mg·L-1) | BOD5/(mg·L-1) | NH3-N/(mg·L-1) | TDS/(mg·L-1) |
| 数值 | 35 | 1~1.5 | 25 000 | 2 750 | 700 | 32 000 |
1.3 实验器材、试剂
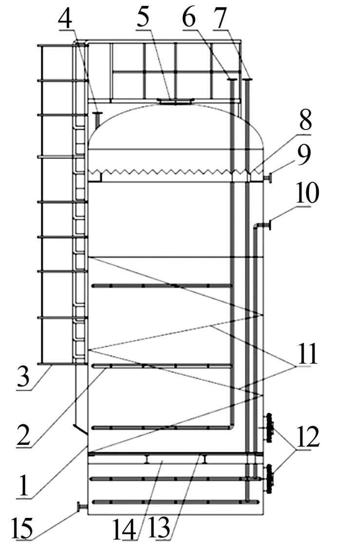
图1
图1
扰流式自吹洗铁碳微电解反应器
1—筒体;2—自吹洗开孔管道;3—直爬梯及护栏;4—呼吸口;5—顶检修口;6—空气自吹洗口;7—进气口;8—出水堰;9—出水口;10—进水口;11—折流板;12—侧检修口;13—筛网;14—填料支撑板;15—排污口
空气泵,烧杯(1 000 mL),金坛磁搅拌设备,帅盈PHB-4型pH计,岛津液相色谱仪,Clarus 500型GC-MS(珀金埃尔默仪器有限公司)等。
试剂:2 cm×3 cm扁圆形铁碳填料(普茵沃润)、30%NaOH、98%硫酸、FeSO4·7H2O、27.5%H2O2、PAC、阴离子PAM等(国药集团),所用药剂均为工业级。
1.4 流程及实验方法
因废水中有机污染物浓度高,且种类易发生变化,故在生化前必须进行强化预处理〔5〕:取邻硝基对甲苯酚生产废水,将pH调节至2.5,在扰流式自吹洗铁碳微电解反应器中反应,改变进水pH、填料区停留时间及曝气气水比,出水取样检测,另取铁碳微电解出水进行Fenton反应(烧杯实验),改变进水pH、Fe2+及H2O2投加量,氧化反应(采用空气泵曝气)完成后,投加30%NaOH调节pH至9左右,投加PAC 200 mg/L快速搅拌5 min混合反应,投加阴离子PAM 2 mg/L慢速搅拌15 min絮凝反应,静置沉淀30 min,取上清液检测。
1.5 分析方法
pH采用玻璃电极法(GB 6920—1986)检测,BOD5采用稀释与接种法(HJ 505—2009)检测,COD采用重铬酸钾法(HJ 828—2017)检测,NH3-N采用纳氏试剂光度法(GB 7479—1987)检测,GC-MS检测(预处理:二氯甲烷萃取;毛细管柱:DB-WAX,30 m×0.32 m×0.25 μm;分流比为1∶25,载气:氦气,注样口温度为250 ℃;色谱升温程序:40 ℃保持5 min,8 ℃/min升至240 ℃,保持10 min;质谱条件:EI离子源,温度为250 ℃,电离能量为70 eV,扫描范围为33~500 m/z)。
2 结果与分析
2.1 原水水质分析
对邻硝基对甲苯酚生产废水原水进行GC-MS分析,结果见图 2。
图2
由图 2可知,20.57、28.52、23.69、16.20 min的色谱峰分别对应对甲苯酚、2,4-二硝基甲苯、邻硝基对甲苯酚、邻甲苯酚,是废水中的主要污染物,其中对甲苯酚、2,4-二硝基甲苯、邻硝基对甲苯酚等有机污染物均难以生化降解,且毒性高、污染性强。
2.2 铁碳微电解影响因素分析
铁碳微电解反应前须去除废水中的油类、黏附性悬浮物(其在铁碳填料表面形成钝化膜,极大限制了微电解反应)。pH、铁碳填料区停留时间、曝气气水比为铁碳微电解反应过程中主要的影响条件。
取邻硝基对甲苯酚生产废水,置于扰流式自吹洗铁碳微电解反应器中,停留4 h,曝气气水比为4∶1时,考察pH对COD去除效果的影响,结果见图 3(a)。
图3
由图 3(a)可知,pH为2.5时,COD去除率为20.3%,当pH<2.0或pH≥3.0时,COD去除率均呈下降趋势。
在铁碳微电解反应过程中,pH为2.5,曝气气水比为4∶1时,考察停留时间对COD去除效果的影响,结果见图 3(b)。
由图 3(b)可知,随着铁碳填料区停留时间的增长,COD去除效果越好,停留时间为4 h时,COD去除率为20.5%,当停留时间超过4 h时,COD去除率无明显变化。
pH为2.5,铁碳填料区停留为4 h时,考察曝气气水比对COD去除效果的影响,结果见图 3(c)。
由图 3(c)可知,曝气气水比越高,COD去除效果越好,曝气气水比为4∶1时,COD去除率为20.6%,当曝气气水比高于4∶1时,COD去除率无显著变化。
由图 3综合分析可知,pH为2.5,铁碳填料区停留时间为4 h,曝气气水比为4∶1时,COD去除率高达20.6%,为铁碳微电解最优工艺条件。COD的去除也证实了铁碳微电解对邻硝基对甲苯酚废水具有还原性、电化学性及铁离子絮凝吸附性。
2.3 Fenton氧化影响因素分析
H2O2在Fe2+存在下生成强氧化能力的·OH,并引发更多的其他活性氧,以实现对有机物的降解,其中pH、Fe2+及H2O2投加量影响着反应效果〔6〕。
邻硝基对甲苯酚生产废水经铁碳微电解反应后COD约为20 000 mg/L,根据c(H2O2)∶COD=1∶1(参照HJ 1095—2020),按照COD去除质量浓度10 000 mg/L确定纯H2O2投加量为10 g/L,折合27.5%H2O2的投加量为36.36 g/L,pH为3时,考察Fe2+投加量对COD去除效果的影响,结果见图 4(a)。
图4
由图 4(a)可知,Fe2+投加量在n(H2O2)∶n(Fe2+)为10∶1(Fe2+投加量为1.6 g/L)时效果最佳,COD去除率为40.2%,高于或低于此值,COD去除率均有所下降。
取铁碳微电解出水进行Fenton氧化反应,Fe2+投加量为1.6 g/L,H2O2投加量为36.36 g/L时,考察pH对COD去除效果的影响,结果见图 4(b)。
由图 4(b)可知,pH为3.5时,COD去除率为39.1%,pH低于3.5时,COD去除效果无明显增加,pH提升至3.5以上时,COD去除率呈下降趋势。
Fe2+投加量为1.6 g/L,pH为3.5时,考察H2O2投加量对COD去除效果的影响,结果见图 4(c)。
由图 4(c)可知,H2O2投加量为36.36 g/L时,COD去除率最高,为40%,H2O2投加量提升时,COD去除能力无明显提高。
铁碳微电解出水pH会升高至3~3.5左右,且含有部分Fe2+直接进入Fenton系统进行氧化反应,另结合图 4综合分析,pH为3~3.5,H2O2投加量为36.36 g/L,Fe2+投加量为1.6 g/L时,COD去除率高达40%,为Fenton氧化最优工艺条件。
2.4 Fenton氧化出水GC-MS及液相色谱分析
基于最优工艺条件,经Fenton高级氧化后,水样的GC-MS见图 5。
图5
由图 5可知,23.69、28.54 min对应的色谱峰面积较原水明显减少,20.61 min为新生成的异辛烷,13.74、19.57 min为反应生成的小分子物质,说明原水中难降解有机物质得到降解,并生成了一系列小分子物质。
原水和Fenton出水的液相色谱见图 6。
图6
由图 6可知,处理前后,2.342、2.568 min等对应的液相色谱峰明显减弱或者消失,说明原水中主要有机污染物得到了降解。
综合以上分析,表明了铁碳微电解还原反应后,Fe2+、H2O2之间链反应催化生成·OH,具有较强的氧化能力,无选择性地氧化废水中难降解有机污染物。
3 工程论证
江西省景德镇市某化工厂污水站采用铁碳微电解、Fenton氧化预处理,在最优条件下,对长期运行结果进行收集、整理,2020年5月的运行数据见表 3。
表3 2020年5月运行数据
| 日期 | 出水COD/(mg·L-1) | 日期 | 出水COD/(mg·L-1) | |
| 2020-05-02 | 12 568 | 2020-05-18 | 12 653 | |
| 2020-05-04 | 12 010 | 2020-05-20 | 12 434 | |
| 2020-05-06 | 12 202 | 2020-05-22 | 12 884 | |
| 2020-05-08 | 11 936 | 2020-05-24 | 13 112 | |
| 2020-05-10 | 12 425 | 2020-05-26 | 12 320 | |
| 2020-05-12 | 11 834 | 2020-05-28 | 11 962 | |
| 2020-05-14 | 11 984 | 2020-05-30 | 12 156 | |
| 2020-05-16 | 13 342 | 2020-05-20 | 12 434 |
由表 3可知,铁碳微电解协同Fenton氧化的COD总去除率约为52%,Fenton出水BOD5为3 904 mg/L,B/C由0.11提升至0.32,降解了有机污染物,提升了废水可生化性。
4 结论
(1)邻硝基对甲苯酚生产废水在pH为2.5,铁碳填料区停留时间为4 h,曝气气水比为4∶1时,铁碳微电解COD去除率为20.6%,此为最优工艺参数,也表明了通过铁碳微电解还原反应,降低了有机污染物浓度。
(2)经铁碳微电解反应后出水,进入Fenton反应系统,在pH为3~3.5,H2O2投加量为36.36 g/L,Fe2+投加量为1.6 g/L时,Fenton氧化COD去除率为40%,此为最优工艺参数,也证明了Fenton氧化形成的·OH具有极强的氧化能力。
(3)铁碳-Fenton法协同耦合,COD总去除率为52%,B/C由0.11提升至0.32,充分起到了强化预处理作用,保障生化系统稳定运行,同时也从实际工程长期运行的数据论证了铁碳、Fenton预处理的卓越效果。
(4)GC-MS图谱、液相色谱进一步验证,对甲酚、2,4-二硝基甲苯、邻硝基对甲苯酚等经铁碳还原,Fenton氧化后,无选择地被降解,致使有机污染物浓度急剧下降,苯酚类、苯环类等难降解物质转化为可生化小分子物质。
参考文献
/
| 〈 |
|
〉 |



津公网安备 12010602120337号